lemon-mirror:
Home >> Acura >> 1986 >> Legend Automatic >> Repair and Diagnosis >> Body & Frame >> Power Windows >> Testing >> Power Window Relay Test

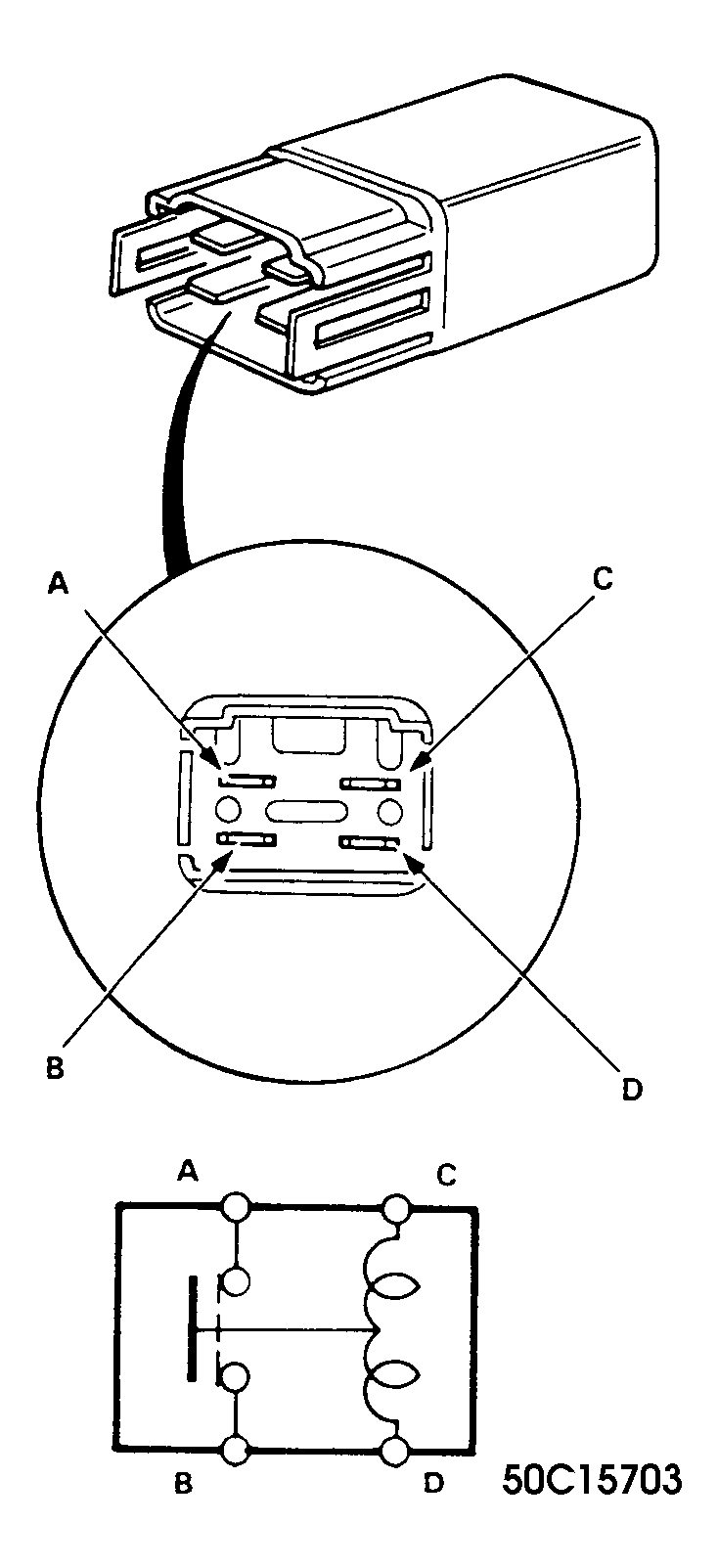
Power Window Relay Test

Remove power window relay from underhood fuse/relay box. Check for continuity between terminals "A" and "B" terminals when battery is connected to "C" and "D" terminals. Continuity should not exist when battery is disconnected. See Fig 1 .

Fig 1: Power Window Relay Terminal ID
G50C15703Courtesy of AMERICAN HONDA MOTOR CO., INC.