lemon-mirror:
Home >> Acura >> 1992 >> Integra GS-R >> Repair and Diagnosis >> Electrical >> Gauges >> Instrument Panel >> Testing >> Fuel Gauge Sending Unit >> Integra

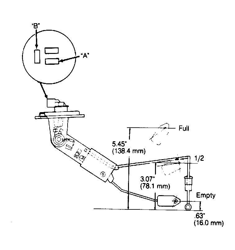
Fuel Gauge Sending Unit: Integra

Remove rear seat. Remove fuel pump access cover. Ensure ignition is off. Unplug 3-pin connector from fuel gauge sending unit. Using Fuel Sender Wrench (07920-SB20000), remove sending unit. Measure resistance between sending unit terminals "A" and "B" while moving float. See Figure . Resistance must be as specified in FUEL GAUGE SENDING UNIT RESISTANCE table.