lemon-mirror:
Home >> Acura >> 1992 >> Integra GS-R >> Repair and Diagnosis >> Electrical >> Gauges >> Instrument Panel >> Testing >> Hazard Warning Switch

Hazard Warning Switch

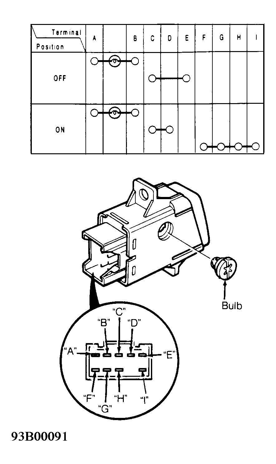
Check for continuity between specified switch terminals with switch in ON and OFF positions. See Fig 1 , Fig 2 or Fig 3 .

Fig 1: Testing Hazard Warning Switch (Integra)
G93H00089Courtesy of AMERICAN HONDA MOTOR CO., INC.
Fig 2: Testing Hazard Warning Switch (Legend)
G93J00090Courtesy of AMERICAN HONDA MOTOR CO., INC.
Fig 3: Testing Hazard Warning Switch (Vigor)
G93B00091Courtesy of AMERICAN HONDA MOTOR CO., INC.