lemon-mirror:
Home >> Acura >> 1992 >> NSX Automatic >> Repair and Diagnosis >> Body & Frame >> Power Windows >> Component Tests >> Power Window Relay

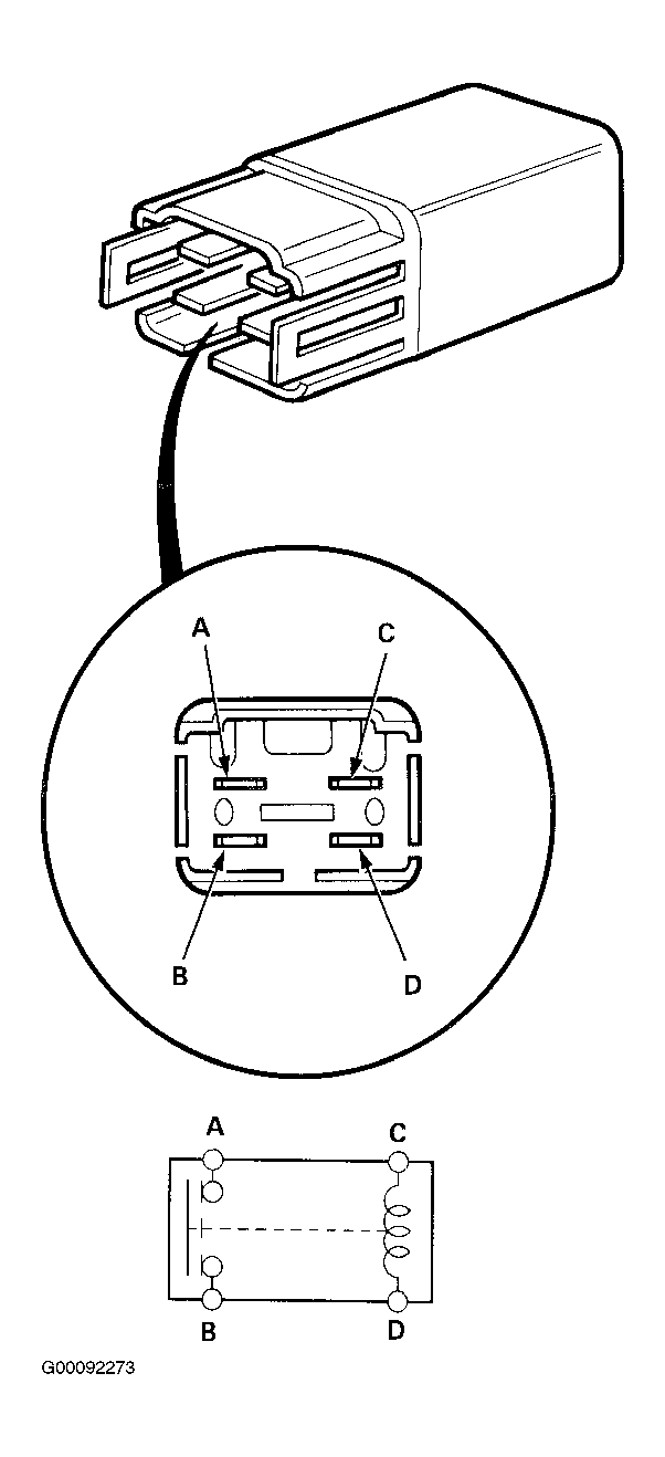
Power Window Relay

  1. Remove the power window relay in the main relay box.
  2. There should be continuity between the A and B terminals when the battery is connected to the C and D terminals. See Fig 1 . There should be no continuity when the battery is disconnected.
Fig 1: Testing Power Window Relay
G00092273Courtesy of AMERICAN HONDA MOTOR CO., INC.