Master Switch
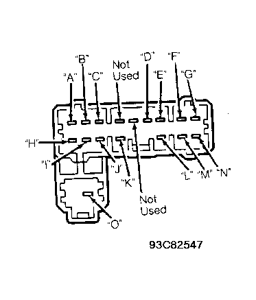
Remove power window master switch. See WINDOW SWITCH under REMOVAL & INSTALLATION. Check for continuity between specified switch terminals with switch in each position. If continuity is not as specified, replace switch. See Fig 1 . See POWER WINDOW MASTER SWITCH TEST table.
POWER WINDOW MASTER SWITCH TEST
| Position | Main Switch | Pin Continuity | |||
|---|---|---|---|---|---|
| Driver's Switch | |||||
| Off | (1) | "H"-"I"-"J" | |||
| Up | (1) | "H"-"N" | |||
| Down | (1) | "J"-"N" | |||
| Down (AUTO) | (1) | "J"-"N" | |||
| Right Front Switch | |||||
| Off | On | "D"-"E"-"O" | |||
| Off | Off | "D"-"E" | |||
| Up | On | "E"-"L" | |||
| Up | Off | "E"-"L" | |||
| Down | On | "D"-"L" | |||
| Down | Off | "D"-"L" | |||
| Left Rear Switch | |||||
| Off | On | "B"-"C"-"O" | |||
| Off | Off | "B"-"C" | |||
| Up | On | "C"-"K" | |||
| Up | Off | "A" "G" | |||
| Down | On | "C"-"K" | |||
| Down | Off | "B"-"H" | |||
| Right Rear Switch | |||||
| Off | On | "F"-"G-"O" | |||
| Off | Off | "F"-"G" | |||
| Up | On | "E"-"J" | |||
| Up | Off | "G"-"M" | |||
| Down | On | "F"-"M" | |||
| Down | Off | "F"-"M" | |||
|
|||||