lemon-mirror:
Home >> Acura >> 1998 >> Integra GS-R, 4D Sedan >> Repair and Diagnosis >> Brakes >> Traction Control >> Anti-Lock >> Component Testing >> Abs Pump Motor & Fail-Safe Relay Test

Abs Pump Motor & Fail-Safe Relay Test

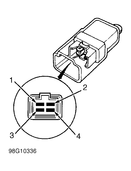
With relay disconnected, check continuity between relay terminals No. 1 and 3. See Fig 1 or Fig 2 . Continuity should not exist. Apply battery voltage across terminals No. 2 and 4. Continuity should exist between terminals No. 1 and 3. If continuity is not as indicated, replace relay.

Fig 1: Identifying Fail-Safe Relay Terminals
G98G10336Courtesy of AMERICAN HONDA MOTOR CO., INC.
Fig 2: Identifying ABS Pump Motor Relay Terminals
G98C10324Courtesy of AMERICAN HONDA MOTOR CO., INC.