lemon-mirror:
Home >> Acura >> 1999 >> 3.5RL >> Repair and Diagnosis >> Body & Frame >> Power Windows >> Component Tests >> Power Window Relay Test >> 3.2TL

Power Window Relay Test: 3.2TL

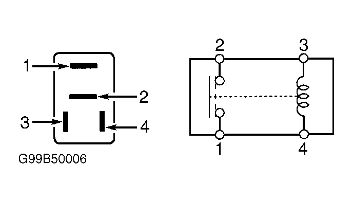
Remove power window relay from underhood fuse/relay box. Check for continuity between terminals No. 1 and 2. Continuity should not exist. Using jumper wires, connect terminal No. 3 to battery voltage and terminal No. 4 to ground. See Fig 1 . If continuity does not exist between terminals No. 1 and 2, replace relay.

Fig 1: Identifying Power Window Relay Terminals (3.2TL)
G99B50006Courtesy of AMERICAN HONDA MOTOR CO., INC.