lemon-mirror:
Home >> Acura >> 2000 >> 3.2TL >> Repair and Diagnosis >> Brakes >> Traction Control >> Vehicle Stability Assistance System >> VSA Modulator Fluid Replacement

VSA Modulator Fluid Replacement

  1. Clean the area around of the modulator unit.
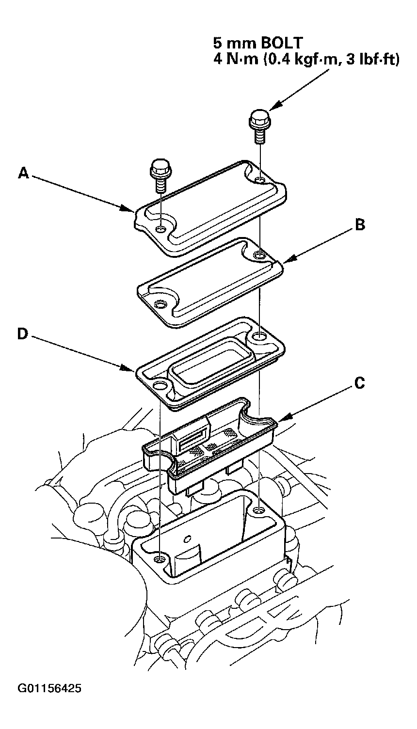
  2. Remove the reservoir cap (A), diaphragm plate (B), filter (C), and diaphragm (D).
    Fig 1: Removing Reservoir Cap
    G01156425Courtesy of AMERICAN HONDA MOTOR CO., INC.
  3. Clean the filter.
  4. Remove the brake fluid from the VSA reservoir.
    NOTE: Do not spill brake fluid on the vehicle; it may damage the paint; if brake fluid gets on the paint, wash it off immediately with water.
  5. Install the filter.
  6. Fill the VSA reservoir with brake fluid until it reaches the upper line of the filter.
  7. Install the diaphragm, diaphragm plate, and reservoir cap, then hand-tighten the bolts.
  8. Operate the pump motor by driving the vehicle at 6 mph (10 km/h) or more.
  9. Repeat steps  18 .
  10. Test-drive the vehicle at 18 mph (30 km/h) or more for the few seconds, and check that the ABS indicator and VSA system indicator do not come on.
  11. Tighten the VSA reservoir cap bolts to the specified torque.