lemon-mirror:
Home >> Acura >> 2000 >> 3.2TL >> Repair and Diagnosis >> Steering >> Power Steering System >> Pump Overhaul >> Inspection

Pump Overhaul: Inspection

  1. Check the flow control valve for wear, burrs, and other damage to the edges of the grooves in the valve.
    Fig 1: Checking Flow Control Valve For Wear, Burrs & Other Damage
    G01159308Courtesy of AMERICAN HONDA MOTOR CO., INC.
  2. Inspect the bore of the flow control valve on the pump housing for scratches and wear.
  3. Slip the flow control valve back in the pump housing, and check that it moves in and out smoothly. If OK, go to next step; if not, replace the pump as an assembly. The flow control valve is not available separately.
    Fig 2: Slipping Flow Control Valve Back In Pump Housing
    G01159309Courtesy of AMERICAN HONDA MOTOR CO., INC.
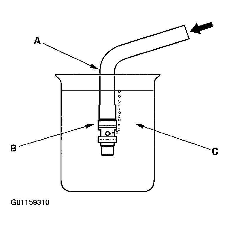
  4. Attach a hose (A) to the end of the flow control valve (B) as shown. Then submerge the flow control valve in a container of power steering fluid or solvent (C), and blow in the hose.
    • If air bubbles leak through the valve at less than 98 kPa (1.0 kgf/cm2 , 14.2 psi), replace the pump as an assembly. The flow control valve is not available separately.
    • If the flow control valve tests OK, set it aside for reassembly later.
    Fig 3: Attaching Hose To End Of Flow Control Valve
    G01159310Courtesy of AMERICAN HONDA MOTOR CO., INC.
  5. Inspect the ball bearing by rotating the outer race slowly. If you feel any play (axial or radial) or roughness remove the faulty ball bearing (A), and install a new one (B).
    Fig 4: Removing Faulty Ball Bearing
    G01159311Courtesy of AMERICAN HONDA MOTOR CO., INC.
  6. Inspect each part shown with an asterisk in the Exploded View; if any of them are worn or damaged, replace the pump as an assembly.