lemon-mirror:
Home >> Acura >> 2001 >> 3.2CL Base >> Repair and Diagnosis >> Brakes >> Traction Control >> Anti-Lock/Traction Control >> Component Tests >> Relays >> Pump Motor Relay

Pump Motor Relay

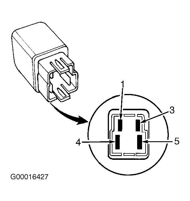
With relay disconnected, use DVOM to check continuity between relay terminals No. 4 and 5. See Fig 1. Continuity should not exist. Apply battery voltage across terminals No. 1 and 3. Continuity should exist between terminals No. 4 and 5. If continuity is not as indicated, replace relay.

Fig 1: Identifying Pump Motor Relay Terminals
G00016427Courtesy of AMERICAN HONDA MOTOR CO., INC.