lemon-mirror:
Home >> Acura >> 2001 >> Integra GS-R, 4D Sedan >> Repair and Diagnosis >> Body & Frame >> Power Mirrors >> Component Tests >> Power Mirror Switch >> Notes

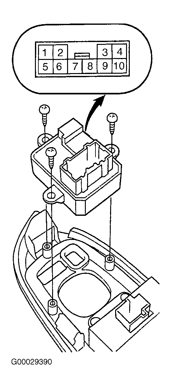
Power Mirror Switch: Notes

Remove power mirror switch. See POWER MIRROR SWITCH  under REMOVAL & INSTALLATION. Using DVOM, check continuity between specified switch terminals. See Figure-Figure . See appropriate POWER MIRROR SWITCH CONTINUITY TEST table. If switch does not test as specified, replace faulty power mirror switch.