lemon-mirror:
Home >> Acura >> 2002 >> 3.2CL Base >> Repair and Diagnosis >> Electrical >> Horns >> Circuit Diagram

Circuit Diagram

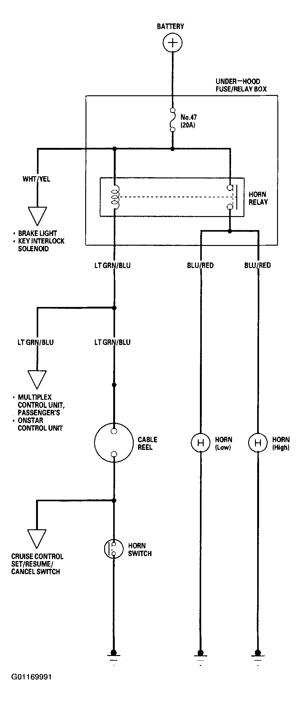
Fig 1: Horns Wiring Diagram
G01169991Courtesy of AMERICAN HONDA MOTOR CO., INC.