lemon-mirror:
Home >> Acura >> 2002 >> RSX Base, Automatic >> Repair and Diagnosis >> Body & Frame >> Windows >> Glass >> Windshield Replacement

Windshield Replacement

Special Tools Required 

KTC trim tool set SOJATP2014

NOTE:
  • Put on gloves to protect your hands.
  • Use the appropriate tool from the KTC trim tool set to avoid damage when prying components.
  • Wear eye protection when removing the glass with piano wire.
  • Use seat covers to avoid damaging the seats.
  1. Pull up the side trim (A) to release the clips (B, C) from the retainers (D), then remove the trim from each side of the windshield.
    Fig 1: Pulling Up Side Trim To Release Clips From Retainers And Removing Trim From Each Side Of Windshield
    G03652638Courtesy of AMERICAN HONDA MOTOR CO., INC.
  2. Remove these items:
  3. Remove the molding (A) from the upper edge of the windshield (B). If necessary, cut the molding with a utility knife.
    Fig 2: Removing Molding From Upper Edge Of Windshield
    G03652639Courtesy of AMERICAN HONDA MOTOR CO., INC.
  4. If the old windshield will be reinstalled, make alignment marks across the glass and body with a grease pencil.
  5. Pull down the front portion of the headliner (see HEADLINER REMOVAL/INSTALLATION ). Take care not to bend the headliner excessively, as you may crease or break it.
  6. Apply protective tape along the edge of the dashboard and body. Using an awl, make a hole through the rubber dam and adhesive from inside the vehicle at the corner portion of the windshield. Push a piece of piano wire through the hole, and wrap each end around a piece of wood.
  7. With a helper on the outside, pull the piano wire (A) back and forth in a sawing motion. Hold the piano wire as close to the windshield (B) as possible to prevent damage to the body and dashboard. Carefully cut through the rubber dam and adhesive (C) around the entire windshield.
    Fig 3: Pulling Piano Wire Back And Forth In A Sawing Motion
    G03652640Courtesy of AMERICAN HONDA MOTOR CO., INC.
    Fig 4: Identifying Cutting Portion Of Windshield
    G03652641Courtesy of AMERICAN HONDA MOTOR CO., INC.
  8. Carefully remove the windshield.
  9. With a knife, scrape the old adhesive smooth to a thickness of about 2 mm (0.08 in.) on the bonding surface around the entire windshield opening flange:
    • Do not scrape down to the painted surface of the body; damaged paint will interfere with proper bonding.
    • Remove the rubber dam, clips, and fasteners from the body.
  10. Clean the body bonding surface with a sponge dampened in alcohol. After cleaning, keep oil, grease, and water from getting on the clean surface.
  11. If the old windshield will be reinstalled, use a putty knife to scrape off all of the old adhesive, the fasteners, the clips, and the rubber dam from the windshield. Clean the inside face and the edge of the windshield with alcohol where new adhesive will be applied. Make sure the bonding surface is kept free of water, oil, and grease.
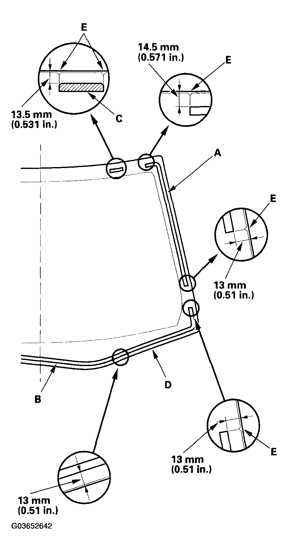
  12. Attach the side rubber dams (A), the lower rubber dam (B), and the fasteners (C) with adhesive tape to the inside face of the windshield (D) as shown:
    • Be sure the rubber dams and fasteners line up with the alignment marks (E).
    • Be careful not to touch the windshield where adhesive will be applied.
    1. Side and lower rubber dams adhesive tape: 

      Thickness 0.16 mm (0.0063 in.) 

      Width 4 mm (0.16 in.) 

    2. Fasteners adhesive tape: 

      Thickness 0.4 mm (0.016 in.) 

      Width 7.5 mm (0.3 in.) 

      Fig 5: Identifying Thickness Of Side And Lower Rubber Dams Adhesive Tape
      G03652642Courtesy of AMERICAN HONDA MOTOR CO., INC.
  13. Attach the molding (A) with adhesive tape (B) to the corner edge of the windshield (C). Be careful not to touch the windshield where adhesive will be applied.

    Adhesive tape: Thickness 0.8 mm (0.031 in.) 

    Width 4 mm (0.16 in.) 

    Fig 6: Attaching Molding With Adhesive Tape To Corner Edge Of Windshield
    G03652643Courtesy of AMERICAN HONDA MOTOR CO., INC.
  14. Attach the fasteners to the body with adhesive tape.

    Adhesive tape: Thickness 0.4 mm (0.016 in.) 

    Width 5 mm (0.2 in.) 

    Fig 7: Attaching Fasteners To Body With Adhesive Tape
    G03652644Courtesy of AMERICAN HONDA MOTOR CO., INC.
  15. Set the windshield in the opening, and center it. Make alignment marks (A) across the windshield and body with a grease pencil at the four points shown. Be careful not to touch the windshield where adhesive will be applied.
    Fig 8: Setting Windshield In Opening And Center
    G03652645Courtesy of AMERICAN HONDA MOTOR CO., INC.
  16. Remove the windshield.
  17. With a sponge, apply a light coat of glass primer around the edge of the windshield (A) between the dams (B) and molding (C) as shown, then lightly wipe it off with gauze or cheesecloth:
    • Apply glass primer to the molding.
    • Do not apply body primer to the windshield, and do not get body and glass primer sponges mixed up.
    • Never touch the primed surfaces with your hands. If you do, the adhesive may not bond to the windshield properly, causing a leak after the windshield is installed.
    • Keep water, dust, and abrasive materials away from the primed surfaces.
      Fig 9: Applying Glass Primer To Molding
      G03652646Courtesy of AMERICAN HONDA MOTOR CO., INC.
  18. With a sponge, carefully apply a light coat of body primer to any exposed paint around the flange where new adhesive will be applied. Let the primer dry for at least 10 minutes:
    • Do NOT apply body primer to any remaining original adhesive on the flange.
    • Be careful not to mix up the body and glass primer sponges.
    • Never touch the primed surface with your hands.
      Fig 10: Identifying Dimension Of Body Primer
      G03652647Courtesy of AMERICAN HONDA MOTOR CO., INC.
  19. Cut a "V" in the end of the nozzle (A) on the adhesive cartridge as shown.
    Fig 11: Identifying Dimension Of End Of Nozzle
    G03652648Courtesy of AMERICAN HONDA MOTOR CO., INC.
  20. Put the cartridge in a caulking gun, and run a bead of adhesive (A) around the edge of the windshield (B) between the dams (C) and molding (D) as shown. Apply the adhesive within 30 minutes after applying the glass primer. Make a slightly thicker bead at each corner.
    Fig 12: Identifying Dimension Of Bead Of Adhesive
    G03652649Courtesy of AMERICAN HONDA MOTOR CO., INC.
  21. Use suction cups to hold the windshield over the opening, align it with the alignment marks made in step  15 , and set it down on the adhesive. Lightly push on the windshield until its edges are fully seated on the adhesive all the way around. Do not open or close the doors until the adhesive is dry.
  22. Scrape or wipe the excess adhesive off with a putty knife or towel. To remove adhesive from a painted surface or the windshield, wipe with a soft shop towel dampened with alcohol.
  23. Let the adhesive dry for at least 1 hour, then spray water over the windshield and check for leaks. Mark leaking areas, and let the windshield dry, then seal with sealant:
    • Let the vehicle stand for at least 4 hours after windshield installation. If the vehicle has to be used within the first 4 hours, it must be driven slowly.
    • Keep the windshield dry for the first hour after installation.
  24. Reinstall the cowl covers.
  25. On both sides of the windshield, set the bottom edge of the side molding (A) under the cowl cover (B), and set the hook (C) under the front fender (D), then align the clips (E, F) with the retainers (G). Push on the clip portions of the molding until the molding is fully seated on the windshield.
    Fig 13: Setting Bottom Edge Of Side Molding Under Cowl Cover
    G03652650Courtesy of AMERICAN HONDA MOTOR CO., INC.
  26. Reinstall all remaining removed parts.
    NOTE: Advise the customer not to do the following things for 2 to 3 days:
    • Slam the doors with all the windows rolled up.
    • Twist the body excessively (such as when going in and out of driveways at an angle or driving over rough, uneven roads).