lemon-mirror:
Home >> Acura >> 2002 >> RSX Base, Automatic >> Repair and Diagnosis >> Steering >> Power Steering >> Power Steering System >> Pump Overhaul >> Exploded View >> Inspection

Exploded View: Inspection

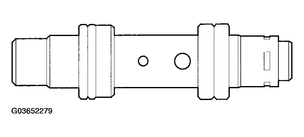
  1. 14. Check the pressure control valve for wear, burrs, and other damage to the edges of the grooves in the valve.
    Fig 1: Checking Pressure Control Valve For Wear, Burrs, And Other Damage
    G03652279Courtesy of AMERICAN HONDA MOTOR CO., INC.
  2. 15. Inspect the bore of the pressure control valve on the pump housing for scratches and wear.
  3. 16. Slip the pressure control valve back in the pump housing, and check that it moves in and out smoothly. If OK, go to step 17; if not, replace the pump as an assembly. The pressure control valve is not available separately.
    Fig 2: Slipping Pressure Control Valve Back In Pump Housing
    G03652280Courtesy of AMERICAN HONDA MOTOR CO., INC.
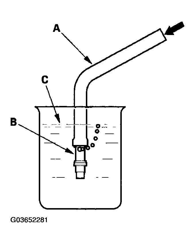
  4. 17. Attach a hose (A) to the end of the pressure control valve (B) as shown. Then submerge the pressure control valve in a container of power steering fluid or solvent (C), and blow in the hose.
    • If air bubbles leak through the valve at less than 98 kPa (1.0 kgf/cm2 ,14.2 psi), replace the pump as an assembly. The pressure control valve is not available separately.
    • If the pressure control valve is OK, set it aside for reassembly later.
      Fig 3: Attaching Hose To End Of Pressure Control Valve
      G03652281Courtesy of AMERICAN HONDA MOTOR CO., INC.
  5. 18. Inspect the ball bearing by rotating the outer race slowly. If you feel any play (axial or radial) or roughness, remove the faulty ball bearing (A), and install a new one (B).
    Fig 4: Removing Faulty Ball Bearing
    G03652282Courtesy of AMERICAN HONDA MOTOR CO., INC.
  6. 19. Inspect each part shown with an asterisk in the Exploded View; if any of them are worn or damaged, replace the pump as an assembly.