lemon-mirror:
Home >> Acura >> 2003 >> MDX Base >> Repair and Diagnosis >> Electrical >> Body Electrical >> Accessory Power Sockets >> Console Accessory Power Socket Test/Replacement

Console Accessory Power Socket Test/Replacement

  1. Remove the center console (see CENTER CONSOLE REMOVAL/INSTALLATION ).
  2. Disconnect the 2P connector from the console accessory power socket.
    Fig 1: Disconnecting 2P Connector From Console Accessory Power Socket
    G03642222Courtesy of AMERICAN HONDA MOTOR CO., INC.
  3. Inspect the connector terminals to be sure they are all making good contact.
    • If the terminals are bent, loose, or corroded, repair them as necessary, and recheck the system.
    • If the terminals look OK, go to step 4.
  4. Turn the ignition switch to ACC (I), and check for voltage between the No. 2 terminal and body ground. There should be battery voltage.
    • If there is battery voltage, go to step 5.
    • If there is no battery voltage, check for:
      • - Blown No. 8 (7.5 A) fuse in the driver's under-dash fuse/relay box.
      • - Blown No. 9 (15 A) fuse in the passenger's under-dash fuse/relay box.
      • - Faulty accessory power socket relay.
      • - Poor ground (G501, G651).
      • - An open in the wire.
  5. Check for continuity between the No. 1 terminal and body ground. There should be continuity.
    • If there is continuity, go to step 6.
    • If there is no continuity, check for:
      • - Poor ground (G501).
      • - An open in the wire.
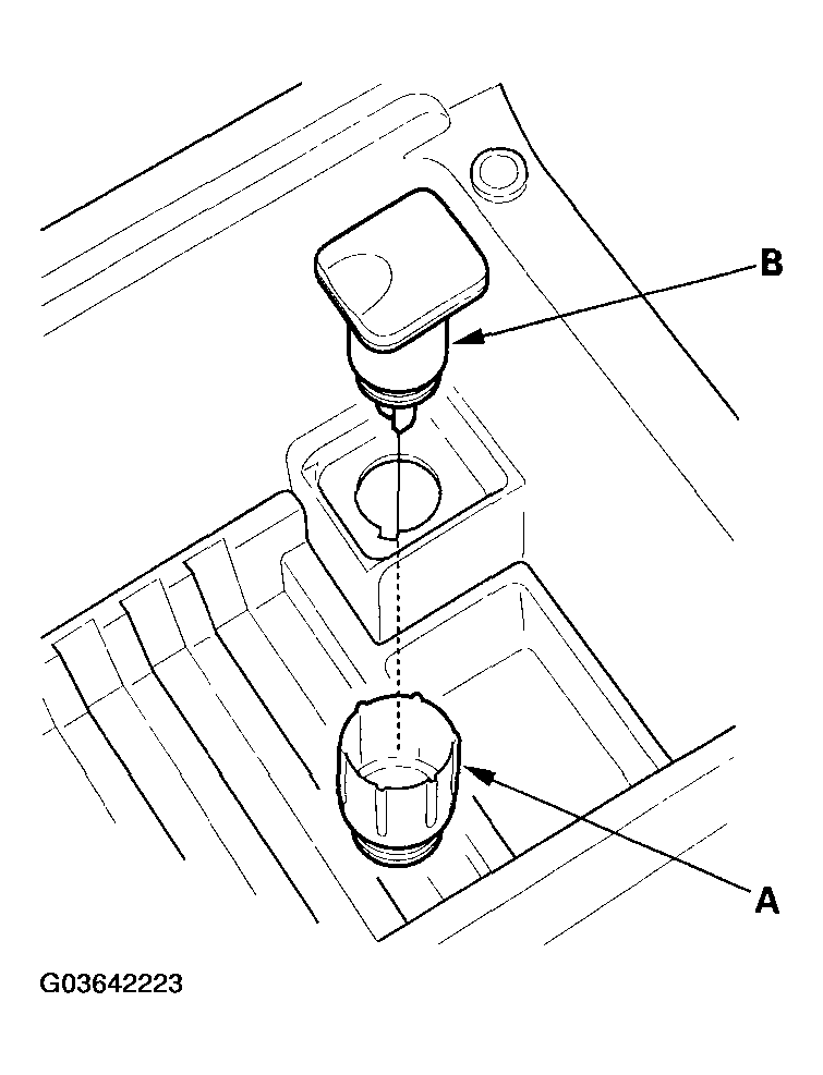
  6. Remove the housing (A) and socket (B).
    Fig 2: Removing Housing And Socket
    G03642223Courtesy of AMERICAN HONDA MOTOR CO., INC.
  7. Install the power socket in the reverse order of removal.