lemon-mirror:
Home >> Acura >> 2004 >> MDX Base >> Repair and Diagnosis >> Engine Performance >> System >> Fuel Supply System >> Fuel Tank Unit Removal/Installation

Fuel Tank Unit Removal/Installation

Special Tools Required 

Fuel sender wrench 07AAA-S0XA100

  1. Turn the ignition switch OFF.
  2. Remove the driver's side second row seat (see SECOND ROW SEAT REMOVAL/INSTALLATION ).
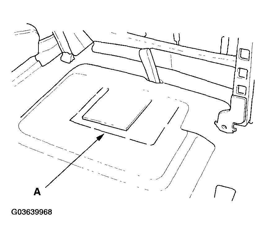
  3. Cut the carpet at the dotted line (A). Be careful not to cut the wire harness under the carpet.
    Fig 1: Cutting Carpet At Dotted Line
    G03639968Courtesy of AMERICAN HONDA MOTOR CO., INC.
  4. Remove the access panel (A) from the floor, then disconnect the fuel pump 5P connector (B).
    Fig 2: Removing Access Panel From Floor
    G03639969Courtesy of AMERICAN HONDA MOTOR CO., INC.
  5. Remove the fuel fill cap.
  6. Relieve fuel pressure (see FUEL PRESSURE RELIEVING  ).
  7. Disconnect the quick-connect fitting from the fuel tank unit.
  8. Using the special tool, loosen the fuel tank unit locknut (A).
    Fig 3: Loosening Fuel Tank Unit Locknut Using Special Tool
    G03639970Courtesy of AMERICAN HONDA MOTOR CO., INC.
  9. Remove the locknut (A) and fuel tank unit (B).
    Fig 4: Removing Locknut And Fuel Tank Unit
    G03639971Courtesy of AMERICAN HONDA MOTOR CO., INC.
  10. Align the marks (C) on the fuel tank (D) and the fuel tank unit, then install the fuel tank unit in the reverse order of removal with a new gasket (E).