lemon-mirror:
Home >> Acura >> 2004 >> TL Automatic >> Repair and Diagnosis >> Body & Frame >> Windows >> Power Windows >> Passenger's Window Switch Test/Replacement >> Rear

Passenger's Window Switch Test/Replacement: Rear

  1. Remove the rear door panel (see REAR DOOR PANEL REMOVAL/INSTALLATION ).
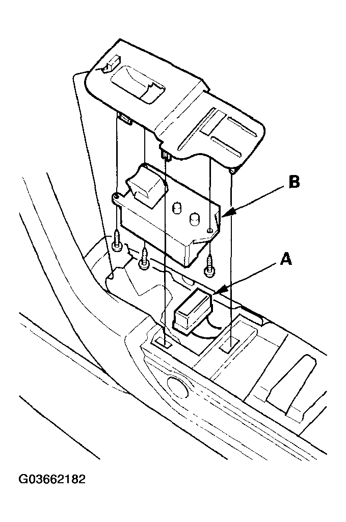
  2. Remove the screw and disconnect the connector (A) from the power window switch (B), then remove the switch assembly from the door panel.
    Fig 1: Identifying Screw, Connector (A) And Power Window Switch (B)
    G03662182Courtesy of AMERICAN HONDA MOTOR CO., INC.
  3. Remove the three mounting screws, then remove the power window switch from the switch panel.
  4. Swap the rear power window switch with another known-good switch and test. If the original window switch is faulty; replace it.
  5. Install in the reverse order of removal.