lemon-mirror:
Home >> Acura >> 2004 >> TL Automatic >> Repair and Diagnosis >> Body & Frame >> Windows >> Windows And Glass >> Rear Window Replacement

Rear Window Replacement

NOTE:
  • Put on gloves to protect your hands.
  • Wear eye protection while cutting the glass adhesive with piano wire.
  • Cover interior surfaces to avoid damaging them.
  • Do not damage the rear window defogger grid lines, window antenna grid lines, and terminals.
  1. Remove these items:
  2. Disconnect the window antenna connectors (A) and rear window defogger connectors (B).
    Fig 1: Disconnecting Window Antenna Connectors And Rear Window Defogger Connectors
    G03661527Courtesy of AMERICAN HONDA MOTOR CO., INC.
  3. If the old rear window will be reinstalled, make alignment marks across the glass and body with a grease pencil.
  4. Pull down the rear portion of the headliner (A) by detaching the clips (B). Take care not to bend the headliner excessively, or you may crease or break it.
    Fig 2: Pulling Down Rear Portion Of Headliner
    G03661528Courtesy of AMERICAN HONDA MOTOR CO., INC.
  5. Apply protective tape along the inside and outside edges of the body. Using an awl, make a hole through the adhesive from inside the vehicle at the corner portion of the rear window. Push a piece of piano wire through the hole, and wrap each end around a piece of wood.
  6. Remove the molding (A) from the lower edge of the rear window (B). If necessary, cut the molding with a utility knife.
    Fig 3: Removing Molding From Lower Edge Of Rear Window
    G03661529Courtesy of AMERICAN HONDA MOTOR CO., INC.
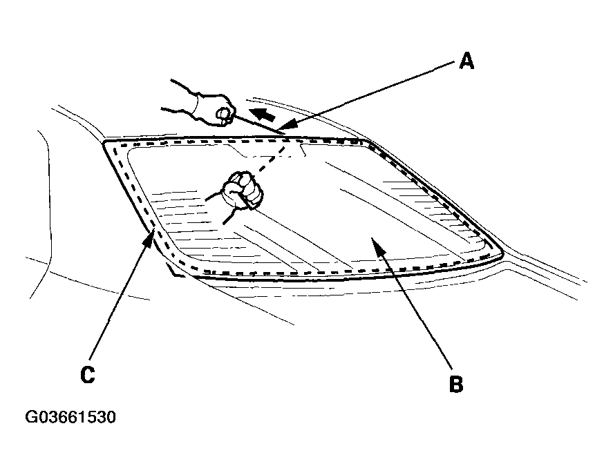
  7. With a helper on the outside, pull the piano wire (A) back and forth in a sawing motion. Hold the piano wire as close to the rear window (B) as possible to prevent damage to the body, and carefully cut through the adhesive (C) around the entire rear window.
    Fig 4: Pulling Piano Wire BAck And Forth In Sawing Motion
    G03661530Courtesy of AMERICAN HONDA MOTOR CO., INC.
    Fig 5: Cutting Through Adhesive Around Entire Rear Window
    G03661531Courtesy of AMERICAN HONDA MOTOR CO., INC.
  8. Carefully remove the rear window.
  9. With a putty knife, scrape the old adhesive smooth to a thickness of about 2 mm (0.08 in.) on the bonding surface around the entire rear window opening flange:
    • Do not scrape down to the painted surface of the body; damaged paint will interfere with proper bonding.
    • Remove the fasteners from the body.
  10. Clean the body bonding surface with a sponge dampened in alcohol. After cleaning, keep oil, grease and water from getting on the surface.
  11. If the old rear window will be reinstalled, use a putty knife to scrape off all of the old adhesive, the moldings and the fasteners from the rear window. Clean the inside face and the edge of the rear window with alcohol where new adhesive will be applied. Make sure the bonding surface is kept free of water, oil and grease.
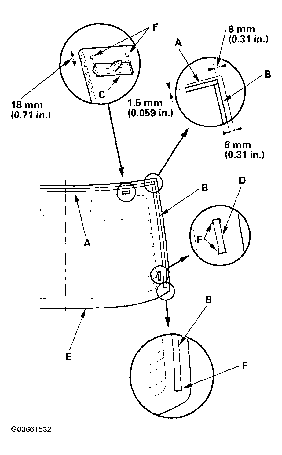
  12. Attach the upper rubber dam (A), side rubber dams (B) with adhesive tape A, clips (C) with adhesive tape B, and fasteners (D) with adhesive tape C to the inside face of the rear window (E) as shown in Fig 6:
    • First attach the upper rubber dam, then attach the side rubber dams around the edge of the rear window. Be sure top of the side rubber dam contacts with bottom of the upper rubber dam. If necessary, cut the rubber dam.
    • Be sure the side rubber dam, clips, and fasteners line up with the alignment marks (F).
    • Be careful not to touch the windshield where adhesive will be applied.

    Adhesive tape A: 

    • Thickness 0.16 mm (0.006 in.) 

    Adhesive tape B: 

    • Thickness 0.4 mm (0.016 in.) 
    • Width 10 mm (0.39 in.) 

    Adhesive tape C: 

    • Thickness 0.8 mm (0.03 in.) 
    • Width 7 mm (0.28 in.) 
    Fig 6: Attaching Upper Rubber Dam, Side Rubber Dams With Adhesive Tape A
    G03661532Courtesy of AMERICAN HONDA MOTOR CO., INC.
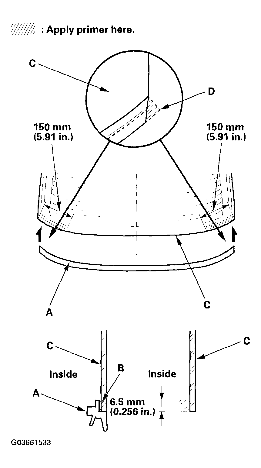
  13. Attach the molding (A) with adhesive tape (B) to the lower edge of the rear window (C):
    • After installing the molding, cut the ends (D) of the molding as shown in Fig 7.
    • Be careful not to touch the windshield where adhesive will be applied.

    Adhesive tape B: 

    • Thickness 0.2 mm (0.008 in.) 
    • Width 5 mm (0.2 in.) 
    Fig 7: Attaching Molding With Adhesive Tape To Lower Edge Of Rear Window
    G03661533Courtesy of AMERICAN HONDA MOTOR CO., INC.
  14. Attach the fasteners (A) with adhesive tape to the rear window opening flange (B) of the body on both sides.

    Adhesive tape: Thickness 0.8 mm (0.03 in.) 

    Fig 8: Attaching Fasteners With Adhesive Tape To Rear Window Opening Flange
    G03661534Courtesy of AMERICAN HONDA MOTOR CO., INC.
  15. Set the rear window in the opening, and center it. Make alignment marks (A) across the rear window and body with a grease pencil at the four points shown. Make sure both upper clips (B) are in the body holes. Be careful not to touch the rear window where adhesive will be applied.
    Fig 9: Making Alignment Marks Across Rear Window And Body With Grease Pencil
    G03661535Courtesy of AMERICAN HONDA MOTOR CO., INC.
  16. Remove the rear window.
  17. With a sponge, apply a light coat of glass primer along the edge of the rear window (A) between the dams (B) and molding (C) as shown in Fig 10, then lightly wipe it off with gauze or cheesecloth:
    • Do not apply body primer to the rear window, and do not get body and glass primer sponges mixed up.
    • Never touch the primed surfaces with your hands. If you do, the adhesive may not bond to the rear window properly, causing a leak after the rear window is installed.
    • Keep water, dust, and abrasive materials away from the primed surfaces.
    Fig 10: Applying Glass Primer Onto Rear Window, Dams And Molding
    G03661536Courtesy of AMERICAN HONDA MOTOR CO., INC.
  18. With a sponge, carefully apply a light coat of body primer to any exposed paint around the flange where new adhesive will be applied. Let the primer dry for at least 10 minutes:
    • Do NOT apply body primer to any remaining original adhesive on the flange.
    • Be careful not to mix up the body and glass primer sponges.
    • Never touch the primed surfaces with your hands.
    Fig 11: Applying Body Primer To Exposed Paint Around Flange
    G03661537Courtesy of AMERICAN HONDA MOTOR CO., INC.
  19. Cut a "V" in the end of the nozzle (A) on the adhesive cartridge as shown in Fig 12.
    Fig 12: Cutting A "V" At End Of Nozzle On Adhesive Cartridge
    G03661538Courtesy of AMERICAN HONDA MOTOR CO., INC.
  20. Put the cartridge in a caulking gun, and run a bead of adhesive (A) around the edge of the rear window (B) between the dams (C) and molding (D) as shown in Fig 13. Apply the adhesive within 30 minutes after applying the glass primer. Make a slightly thicker bead at each corner.
    Fig 13: Running Bead Of Adhesive Around Ege Of Rear Window Between Dams And Molding
    G03661539Courtesy of AMERICAN HONDA MOTOR CO., INC.
  21. Use suction cups to hold the rear window over the opening, align it with the alignment marks you made in step 15, and set it down on the adhesive. Lightly push on the rear window until its edges are fully seated on the adhesive all the way around. Do not open or close the doors until the adhesive is dry.
  22. Scrape or wipe any excess adhesive off with a putty knife or towel. To remove adhesive from a painted surface or the rear window, use a soft shop towel dampened with alcohol.
  23. Let the adhesive dry for at least 1 hour, then spray water over the rear window and check for leaks. Mark any leaking areas, let the rear window dry, then seal with sealant. Let the vehicle stand for at least 4 hours after rear window installation. If the vehicle has to be used within the first 4 hours, it must be driven slowly.
  24. Reinstall all remaining removed parts.
    NOTE: Advise the customer not to do the following things for 2 to 3 days:
    • Slam the doors with all the windows rolled up.
    • Twist the body excessively (such as when going in and out of driveways at an angle or driving over rough, uneven roads).