lemon-mirror:
Home >> Acura >> 2004 >> TL Automatic >> Repair and Diagnosis >> Electrical >> Body Electrical >> Fuse/Relay Boxes >> Connector to Fuse/Relay Box Index >> Under-dash Fuse/Relay Box

Under-dash Fuse/Relay Box

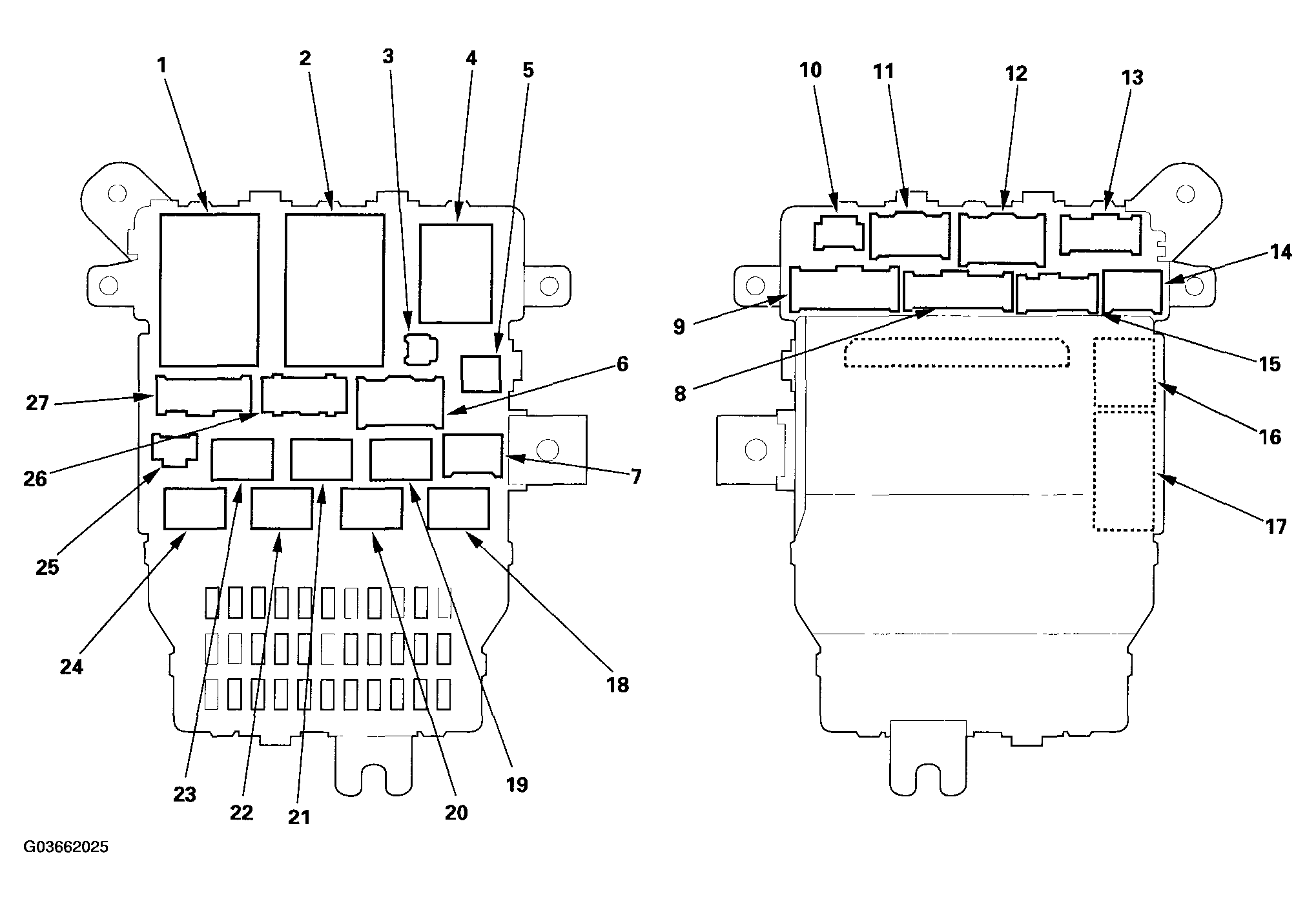
UNDER-DASH FUSE/RELAY BOX INDEX

Socket Ref Terminal Connects to
A 6 6 Dashboard wire harness (see DASHBOARD WIRE HARNESS (LEFT BRANCH) )
Accessory power socket relay 19 4  
A/F sensor relay 20 4  
B 12 6 Engine compartment wire harness (see ENGINE COMPARTMENT WIRE HARNESS (RIGHT BRANCH) )
C 11 12 Engine compartment wire harness (see ENGINE COMPARTMENT WIRE HARNESS (RIGHT BRANCH) )
D 13 17 Engine compartment wire harness (see ENGINE COMPARTMENT WIRE HARNESS (RIGHT BRANCH) )
E 8 16 Floor wire harness (see FLOOR WIRE HARNESS (LEFT BRANCH) )
F 9 14 Floor wire harness (see FLOOR WIRE HARNESS (LEFT BRANCH) )
G 14 6 Floor wire harness (see FLOOR WIRE HARNESS (LEFT BRANCH) )
H 15 14 Floor wire harness (see FLOOR WIRE HARNESS (LEFT BRANCH) )
Ignition coil relay 23 4  
J 27 21 Driver's door subharness (see DRIVER'S DOOR WIRE HARNESS A )
K 26 12 Driver's door subharness (see DRIVER'S DOOR WIRE HARNESS A )
M 25 3 MICS service check connector
N 2 45 Dashboard wire harness (see DASHBOARD WIRE HARNESS (LEFT BRANCH) )
P (MICU) 17 30 Dashboard wire harness (see DASHBOARD WIRE HARNESS (LEFT BRANCH) )
PGM-FI main relay 1 21 4  
PGM-FI main relay 2 24 4  
Power window relay 22 4  
Q (MICU) 16 14 Dashboard wire harness (see DASHBOARD WIRE HARNESS (LEFT BRANCH) )
Ft (MES connector) 3 2 Dashboard wire harness (see DASHBOARD WIRE HARNESS (LEFT BRANCH) )
S 5 2 Dashboard wire harness (see DASHBOARD WIRE HARNESS (LEFT BRANCH) )
Starter cut relay 18 4  
T 7 6 Optional connector
Turn signal/hazard relay 4 6  
W 10 5 Roof wire harness (see ROOF WIRE HARNESS )
X 1 39 Dashboard wire harness (see DASHBOARD WIRE HARNESS (LEFT BRANCH) )
Fig 1: Identifying Under-Dash Fuse/Relay Box
G03662025Courtesy of AMERICAN HONDA MOTOR CO., INC.