lemon-mirror:
Home >> Acura >> 2004 >> TL Automatic >> Repair and Diagnosis >> Engine Mechanical >> Auxiliary Emission Control Systems >> EVAP System >> FTP Sensor Replacement

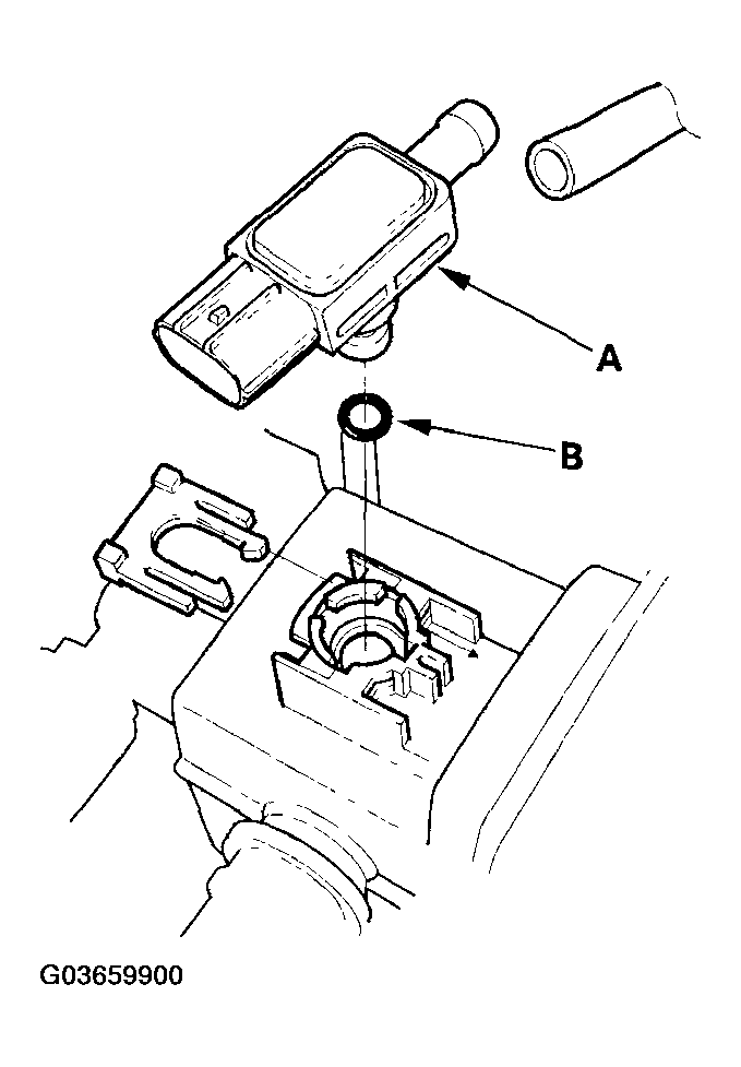
FTP Sensor Replacement

  1. Remove the EVAP canister (see EVAP CANISTER REPLACEMENT ).
  2. Remove the FTP sensor (A).
    Fig 1: Removing FTP Sensor
    G03659900Courtesy of AMERICAN HONDA MOTOR CO., INC.
  3. Install the sensor in the reverse order of removal with a new O-ring (B).