lemon-mirror:
Home >> Acura >> 2004 >> TL Automatic >> Repair and Diagnosis >> Transmission >> Automatic Trans >> Automatic Transmission >> Shift Cable Replacement

Shift Cable Replacement

  1. Remove the center console (see CENTER CONSOLE REAR SECTION REMOVAL/INSTALLATION ).
  2. Shift the transmission into the R position.
  3. Remove the nut securing the shift cable end.
    Fig 1: Removing Nut Securing Shift Cable End
    G03660676Courtesy of AMERICAN HONDA MOTOR CO., INC.
  4. Press the holder lock release (A), and pull out the socket holder (B) to remove the shift cable (C) from the shift lever bracket base (D).
    Fig 2: Identifying Holder Lock Release (A), Socket Holder (B), Shift Cable (C) And Shift Lever Bracket Base (D)
    G03660677Courtesy of AMERICAN HONDA MOTOR CO., INC.
  5. Raise the vehicle, and make sure it is securely supported.
  6. Remove the heat shield under the shift cable grommet.
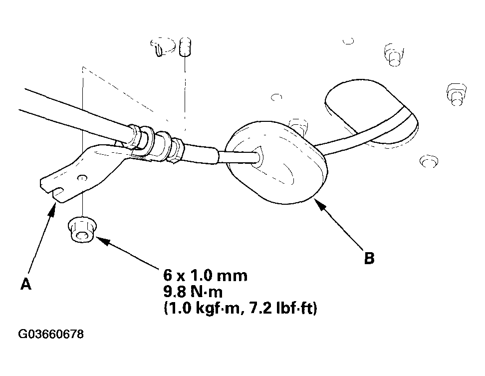
  7. Remove the shift cable bracket (A) and grommet (B).
    Fig 3: Removing Shift Cable Bracket (A) And Grommet (B)
    G03660678Courtesy of AMERICAN HONDA MOTOR CO., INC.
  8. Remove the bolts securing the shift cable holder (A), then remove the shift cable cover (B).
    NOTE: To prevent damage to the control lever joint, remove the bolts securing the holder before removing the bolts securing the cover.
    Fig 4: Identifying Shift Cable Holder (A), Shift Cable Cover (B), Lock Bolt (C) And Selector Control Lever (D)
    G03660679Courtesy of AMERICAN HONDA MOTOR CO., INC.
  9. Remove the lock bolt (C) securing the selector control lever (D), then remove the shift cable and the control lever. Do not bend the shift cable excessively.
  10. Insert the new shift cable through the grommet hole. Do not bend the shift cable excessively.
  11. Install the shift cable bracket on the body, then install the grommet.
  12. Verify that the transmission is in the R position at the control lever.
  13. Install the selector control lever on the selector control shaft. Do not bend the shift cable excessively.
  14. Install the lock bolt with a new lock washer, then bend the lock washer tab against the bolt head.
  15. Install the shift cable cover, then secure the shift cable holder on the cover with the bolts.
    NOTE: To prevent damage to the control lever joint, be sure install the shift cable holder after installing the shift cable cover to the torque converter housing.
  16. Install the heat shield.
  17. Turn the ignition switch ON (II), and verify that the R position indicator comes on.
  18. If necessary, push the shift cable until it stops, then release it. Pull the shift cable back one step so that the shift position is in R. Do not hold the shift cable guide (A) to adjust the shift cable (B).
    Fig 5: Identifying Shift Cable Guide (A) And Shift Cable (B)
    G03660680Courtesy of AMERICAN HONDA MOTOR CO., INC.
  19. Turn the ignition switch OFF.
  20. Place the shift lever in the R position, then insert a 6.0 x 100.0 mm (0.24 x 3.94 in.) pin (A) through the positioning hole (B) on the shift lever bracket base, through the positioning hole (C) on the shift lever, and into the positioning hole (D) on the shift lever bracket base. The shift lever is secured in the R position.
    Fig 6: Placing Shift Lever In R Position
    G03660681Courtesy of AMERICAN HONDA MOTOR CO., INC.
  21. Align the socket holder (A) on the shift cable (B) with the slot in the bracket base (C), then slide the holder into base. Install the shift cable end (D) over the mounting stud (E) by aligning its square hole (F) with the square fitting (G) at the bottom of the stud. Push the holder until it snaps securely in place. Do not install the shift cable by holding the shift cable guide (H).
    Fig 7: Aligning Socket Holder (A) On Shift Cable (B)
    G03660682Courtesy of AMERICAN HONDA MOTOR CO., INC.
  22. Verify that the shift cable end (A) is properly installed on the mounting stud (B).
    Fig 8: Installing Shift Cable End (A) On Mounting Stud (B)
    G03660683Courtesy of AMERICAN HONDA MOTOR CO., INC.
  23. If improperly installed, remove the shift cable from the bracket base, and reinstall the shift cable. Do not install the shift cable end on the mounting stud while the shift cable is on the bracket base.
  24. Install and tighten the nut.
    Fig 9: Nut With Torque Specifications
    G03660684Courtesy of AMERICAN HONDA MOTOR CO., INC.
  25. Remove the 6.0 mm (0.24 in.) pin that was installed to hold the shift lever.
  26. Move the shift lever to each position, and verify that the A/T gear position indicator follows the transmission range switch.
  27. Allow the front wheels to rotate freely.
  28. Start the engine, and check the shift lever operation in all gears.
  29. Push the shift lock release, and verify that the shift lever releases.
  30. Reinstall the center console (see CENTER CONSOLE REAR SECTION REMOVAL/INSTALLATION ).