lemon-mirror:
Home >> Acura >> 2004 >> TSX Automatic >> Repair and Diagnosis >> Body & Frame >> Windows >> Power Windows >> Passenger's Power Window Switch Test/Replacement

Passenger's Power Window Switch Test/Replacement

  1. Carefully pry off the door switch trim (see FRONT DOOR PANEL REMOVAL/INSTALLATION ).
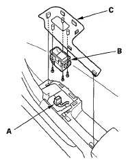
  2. Disconnect the power window switch connector (A), then remove the three mounting screws and the power window switch (B) from the switch trim (C).

    Front Passenger's: 

    Fig 1: Identifying Power Window Switch Connector, Switch And Trim (Front Passenger's)
    G05492919Courtesy of AMERICAN HONDA MOTOR CO., INC.

    Rear: 

    Fig 2: Identifying Power Window Switch Connector, Switch And Trim (Rear)
    G05492920Courtesy of AMERICAN HONDA MOTOR CO., INC.
  3. Swap the power window switch with another known-good switch and test. If the original power window switch is faulty, replace it.