lemon-mirror:
Home >> Acura >> 2004 >> TSX Automatic >> Repair and Diagnosis >> Transmission >> Automatic Trans >> Automatic Transmission >> Transmission Installation

Transmission Installation

Special Tools Required 

These special tools are available through the Acura Tool and Equipment Program 1-888-424-6857.

NOTE: Use fender covers to avoid damaging painted surfaces.
  1. Clean the ATF cooler line (see ATF COOLER CLEANING  ).
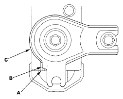
  2. Install the torque converter assembly (A) on the mainshaft (B) with a new O-ring (C).
    Fig 1: Identifying Torque Converter Assembly, Mainshaft And Dowel Pins
    G05491412Courtesy of AMERICAN HONDA MOTOR CO., INC.
  3. Install the 14x20 mm dowel pins (D) in the torque converter housing.
  4. Place the transmission on the jack, and raise the transmission to the engine level.
  5. Attach the transmission to the engine, then install the rear transmission housing mounting bolts.
    Fig 2: Rear Transmission Housing Mounting Bolts W/Torque Specification
    G05491413Courtesy of AMERICAN HONDA MOTOR CO., INC.
  6. Install the front transmission housing mounting bolts.
    Fig 3: Front Transmission Housing Mounting Bolts W/Torque Specification
    G05491414Courtesy of AMERICAN HONDA MOTOR CO., INC.
  7. Install the upper transmission housing mounting bolts.
    Fig 4: Upper Transmission Housing Mounting Bolts W/Torque Specification
    G05491415Courtesy of AMERICAN HONDA MOTOR CO., INC.
  8. Remove the jack from the transmission.
  9. Install the front engine mount bracket with new bolts.
    Fig 5: Front Engine Mount Bracket Bolts W/Torque Specification
    G05491416Courtesy of AMERICAN HONDA MOTOR CO., INC.
  10. Install the rear engine mount bracket with new bolts.
    Fig 6: Rear Engine Mount Bracket Bolts W/Torque Specification
    G05491417Courtesy of AMERICAN HONDA MOTOR CO., INC.
  11. Install a new set ring (A) on the intermediate shaft (B).
    Fig 7: Set Ring And Intermediate Shaft W/Torque Specification
    G05491418Courtesy of AMERICAN HONDA MOTOR CO., INC.
  12. Clean the areas where the intermediate shaft contacts the transmission (differential) with solvent, and dry with compressed air. Then install the intermediate shaft, be sure not to allow dust or other foreign particles to enter the transmission.
  13. Install a new set ring on the left driveshaft.
  14. Clean the areas where the left driveshaft contacts the transmission (differential) with solvent, and dry with compressed air. Then install the left driveshaft, be sure not to allow dust or other foreign particles to enter the transmission. Turn the steering knuckle fully outward, and slide the driveshaft into the differential until you feel its set ring fully engage the side gear.
  15. Slide the right driveshaft over the intermediate shaft splines until you feel the driveshaft fully engage the intermediate shaft set ring.
  16. Install the transmission lower mounts.
    Fig 8: Transmission Lower Mounts W/Torque Specification
    G05491419Courtesy of AMERICAN HONDA MOTOR CO., INC.
  17. Support the front subframe (A) with the front subframe adapter (VSB02C000016) and a jack, and lift it up to body.
    Fig 9: Supporting Front Subframe With Front Subframe Adapter And Jack
    G05491420Courtesy of AMERICAN HONDA MOTOR CO., INC.
  18. Loosely install new front subframe mounting bolts (A), and new stiffener mounting bolts (B) (C).
    Fig 10: Front Subframe Mounting Bolts And Stiffener Mounting Bolts W/Torque Specifications
    G05491421Courtesy of AMERICAN HONDA MOTOR CO., INC.
  19. Loosely install new front subframe middle mount mounting bolts.
    Fig 11: Front Subframe Middle Mount Mounting Bolts W/Torque Specifications
    G05491422Courtesy of AMERICAN HONDA MOTOR CO., INC.
  20. Align the reference marks (A) with the edge (B) of the both rear stiffener (C), and tighten the rear side mounting bolts and the front side mounting bolts, and tighten the stiffener bolts to the specified torque.
    Fig 12: Aligning Reference Marks With Edge Of Both Rear Stiffener
    G05491423Courtesy of AMERICAN HONDA MOTOR CO., INC.
  21. Tighten the front subframe middle mount mounting bolts.
  22. Install the transmission lower mounts nuts.
    Fig 13: Transmission Lower Mounts Nuts W/Torque Specification
    G05491424Courtesy of AMERICAN HONDA MOTOR CO., INC.
  23. Attach the shift cable end (A) to the control lever (B), then insert the control pin (C) into the control lever hole through the shift cable end, and secure the control pin with the spring clip (D). Do not bend the shift cable excessively.
    Fig 14: Control Lever, Spring Clip, Shift Cable Cover, Control Pin And Shift Cable Holder W/Torque Specifications
    G05491425Courtesy of AMERICAN HONDA MOTOR CO., INC.
  24. Install the shift cable cover (E), then secure the shift cable holder (F) to the shift cable cover with the three bolts.
  25. Attach the torque converter to the drive plate with the eight bolts (A). Rotate the crankshaft pulley as necessary to tighten the bolts to 1/2 of the specified torque, then to the final torque, in a crisscross pattern. After tightening the last bolt, check that the crankshaft rotates freely.
    Fig 15: Torque Converter Bolts W/Torque Specifications
    G05491426Courtesy of AMERICAN HONDA MOTOR CO., INC.
  26. Install the engine stiffener (B).
  27. Connect the power steering fluid hose (A) to the power steering fluid line (B), and secure the hose with the clamp (C).
    Fig 16: Identifying Engine Stiffener, Power Steering Fluid Hose And Power Steering Fluid Line
    G05491427Courtesy of AMERICAN HONDA MOTOR CO., INC.
  28. Connect the power steering pressure switch connector.
    Fig 17: Identifying Power Steering Pressure Switch Connector
    G05491428Courtesy of AMERICAN HONDA MOTOR CO., INC.
  29. Install exhaust pipe A, its mount rubber (B), and new gaskets (C).
    Fig 18: Exhaust Pipe, Mount Rubber And Gaskets W/Torque Specifications
    G05491429Courtesy of AMERICAN HONDA MOTOR CO., INC.
  30. Install the damper forks (A) with the damper pinch bolts (B) and new self-locking nuts (C), then install the ball joints on the lower arms (D) with the castle nuts (E) and new cotter pins (F) (see step 11 on KNUCKLE/HUB/WHEEL BEARING REPLACEMENT ).
    Fig 19: Damper Forks, Cotter Pins, Tie-Rod End Ball Joint And Stabilizer Links w/Torque Specs.
    G05491430Courtesy of AMERICAN HONDA MOTOR CO., INC.
  31. Install the tie-rod end ball joint (G) to the each knuckle with the nuts (H) and new cotter pins (I) (see step 9 on KNUCKLE/HUB/WHEEL BEARING REPLACEMENT ).
  32. Install the stabilizer links (J) to the lower arms, and install the nuts (K). Insert a 6 mm Allen wrench (L) in the ball joint pin (M), and tighten the nuts.
  33. Install a new front engine mount bolt (A). C
    Fig 20: Front Engine Mount Bolt, Front Engine Mount Stop And Vacuum Hose W/Torque Specifications
    G05491431Courtesy of AMERICAN HONDA MOTOR CO., INC.
  34. Install the front engine mount stop (B) and the vacuum hose clamp bracket (C).
  35. Connect the vacuum hose (D) to the vacuum line (E), then install the hose on its clamp (F) at the mark (G).
  36. Install a new rear engine mount bolt (A).
    Fig 21: Rear Engine Mount Bolt And Rear Engine Mount Stop W/Torque Specifications
    G05491432Courtesy of AMERICAN HONDA MOTOR CO., INC.
  37. Install the rear engine mount stop (B).
  38. Remove the engine support hanger (AAR-T-12566), and remove the engine hanger adapter (VSB02C000015) from the engine.
    Fig 22: Identifying Engine Support Hanger
    G05491433Courtesy of AMERICAN HONDA MOTOR CO., INC.
  39. Install the clamp bracket.
    Fig 23: Clamp Bracket W/Torque Specification
    G05491434Courtesy of AMERICAN HONDA MOTOR CO., INC.
  40. Install the strut brace (A), then install the harness clamp (B), the hose (C), and the bolts (D).
    Fig 24: Strut Brace, Harness Clamp And Hose W/Torque Specifications
    G05491435Courtesy of AMERICAN HONDA MOTOR CO., INC.
  41. Install the transmission upper mount bracket (A), the transmission upper mount bracket plate (B), and the ground cable (C).
    Fig 25: Ground Cable, Transmission Upper Mount Bracket And Transmission Upper Mount Bracket Plate W/Torque Specifications
    G05491436Courtesy of AMERICAN HONDA MOTOR CO., INC.
  42. Connect the ATF cooler hose (A) to the ATF cooler line (B), and secure it with the clip (see ATF COOLER HOSE REPLACEMENT  ).
    Fig 26: Identifying ATF Cooler Hose, Clamp And ATF Cooler Line
    G05491437Courtesy of AMERICAN HONDA MOTOR CO., INC.
  43. Install the ATF cooler hose (C) on the clamp (D) at the mark (E).
  44. Connect the ATF cooler hoses (A) to the ATF cooler lines (B), and secure the hoses with the clips (see ATF COOLER HOSE REPLACEMENT  ).
    Fig 27: Identifying ATF Cooler Hoses And ATF Cooler Lines
    G05491438Courtesy of AMERICAN HONDA MOTOR CO., INC.
  45. Connect the 3rd clutch transmission fluid pressure switch connector (A), and install the harness clamp (B) on the clamp bracket (C).
    Fig 28: Identifying 3rd Clutch Transmission Fluid Pressure Switch Connector, Harness Clamp And Clamp Bracket
    G05491439Courtesy of AMERICAN HONDA MOTOR CO., INC.
  46. Connect the shift solenoid harness connector (A), the A/T clutch pressure control solenoid valve B connector (B), and the A/T clutch pressure control solenoid valve C connector (C), and install the harness clamp (D) on the clamp bracket (E).
    Fig 29: Identifying Shift Solenoid Harness Connector And A/T Clutch Pressure Control Solenoid Valves Connectors
    G05491440Courtesy of AMERICAN HONDA MOTOR CO., INC.
  47. Connect the output shaft (countershaft) speed sensor connector (A) and the input shaft (mainshaft) speed sensor connector (B).

    '04-05 Models 

    Fig 30: Identifying Output Shaft (Countershaft) Speed Sensor Connector And A/F Sensor Connector ('04-05 Models)
    G05491441Courtesy of AMERICAN HONDA MOTOR CO., INC.

    '06-08 Models 

    Fig 31: Identifying Output Shaft (Countershaft) Speed Sensor Connector And A/F Sensor Connector ('06-08 Models)
    G05491442Courtesy of AMERICAN HONDA MOTOR CO., INC.
  48. Connect the A/F sensor connector (C), then install it on its bracket (D).
  49. Connect the transmission range switch connector (E), then install it on its bracket (F).
  50. Install the harness clamps (G) on the harness clamp brackets (H).
  51. Install the A/T clutch pressure control solenoid valve A connector (A) and the 2nd clutch transmission fluid pressure switch connector (B), and install the harness clamps (C) on the harness clamp brackets (D).
    Fig 32: Identifying 2nd Clutch Transmission Fluid Pressure Switch Connector And Harness Clamp Brackets
    G05491443Courtesy of AMERICAN HONDA MOTOR CO., INC.
  52. Install the power steering pump outlet line (A) with a new O-ring (B) to the pump (C), and secure the hose clamp (D) with the bolt.
    Fig 33: Power Steering Pump Outlet Line, Pump And Hose Clamp W/Torque Specifications
    G05491444Courtesy of AMERICAN HONDA MOTOR CO., INC.
  53. Refill the power steering system with fluid (see FLUID REPLACEMENT ).
  54. Refill the transmission with ATF (see step 4 on ATF REPLACEMENT  ).
  55. Connect the steering joint to the steering gearbox pinion shaft (A) by aligning the reference mark (B), and remove the wire (C) from the joint yoke (D).
    Fig 34: Steering Gearbox Pinion Shaft, Joint Yoke And Steering Joint Cover W/Torque Specification
    G05491445Courtesy of AMERICAN HONDA MOTOR CO., INC.
  56. Install the steering joint cover (E).
  57. Remove the steering wheel (see STEERING WHEEL REMOVAL ).
  58. Center the cable reel, and install the steering wheel (see STEERING WHEEL INSTALLATION ).
  59. Install the battery base.
  60. Install the air cleaner assembly and the intake air duct.
  61. Install the battery tray, the battery, and the battery cover, then secure the battery with its hold-down bracket.
  62. Clean the battery posts and cable terminals, then assemble them.
  63. Set the parking brake. Start the engine, and shift the transmission through all gears three times.
  64. Check the shift lever operation, the A/T gear position indicator operation, and the shift cable adjustment.
  65. Check and adjust the front wheel alignment (see WHEEL ALIGNMENT ).
  66. Install the splash shield.
  67. Start the engine in P or N, and warm it up to normal operating temperature (the radiator fan comes on).
  68. Turn off the engine, and check the ATF level (see ATF LEVEL CHECK  ).
  69. Do the road test (see ROAD TEST  ).
  70. Enter the anti-theft codes for the audio and the navigation system (if equipped), then enter the audio presets, and set the clock.