lemon-mirror:
Home >> Acura >> 2005 >> RL >> Repair and Diagnosis >> Transmission >> Automatic Trans >> Automatic Transmission >> ATF Temperature Sensor Replacement

ATF Temperature Sensor Replacement

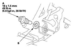
  1. Raise the vehicle on a lift, or apply the parking brake, block both rear wheels, and raise the front of the vehicle. Make sure it is securely supported.
  2. Remove the splash shield.
  3. Remove the drain plug (A), and drain the automatic transmission fluid (ATF).
    Fig 1: Drain Plug And Sealing Washer With Torque Specifications
    G05495615Courtesy of AMERICAN HONDA MOTOR CO., INC.
  4. Reinstall the drain plug with a new sealing washer (B).
  5. Disconnect the ATF temperature sensor connector (A), then remove the connector from the connector bracket (B).
    Fig 2: ATF Temperature Sensor Connector, Connector Bracket And ATF Temperature Sensor With Torque Specifications
    G05495616Courtesy of AMERICAN HONDA MOTOR CO., INC.
  6. Remove the harness clamp (C) from its bracket (D).
  7. Remove the ATF temperature sensor (E), and replace the sensor.
  8. Install the new O-ring (F) on the new ATF temperature sensor, and install the ATF temperature sensor.
  9. Check the connector for rust, dirt, or oil. Connect the connector securely, and install it on its bracket.
  10. Install the harness clamp on its bracket.
  11. Refill the transmission with ATF (see step  6 ).
  12. Install the splash shield.