lemon-mirror:
Home >> Acura >> 2007 >> CSX Type-S >> Repair and Diagnosis >> Electrical >> Gauges >> Consoles >> Center Console Disassembly/Reassembly

Center Console Disassembly/Reassembly

Special Tools Required 

KTC trim tool set SOJATP2014 *

* Available through Honda Canada Inc. Technical Tools Department; Fax # 1-866-398-8665/

e-mail: ch_technicaltools@ch.honda.com

NOTE:
  • Use the appropriate tool from the KTC trim tool set to avoid damage when prying components.
  • Take care not to scratch the center console, dashboard, and related parts.
  1. Remove the center console (see CENTER CONSOLE REMOVAL/INSTALLATION  ).
  2. Remove the center console armrest (see CENTER CONSOLE ARMREST REPLACEMENT  ).
  3. Using a T20 TORX bit, remove the screws, and disconnect the console accessory power socket connector (A).
    Fig 1: Disconnecting Console Accessory Power Socket Connector
    G06268520Courtesy of AMERICAN HONDA MOTOR CO., INC.
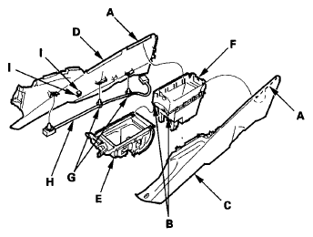
  4. Release the hooks (A) and pins (B), then separate the left console side panel (C), right console side panel (D), console beverage holder (E) and console box (F). If equipped, detach the harness clips (G), then remove the console subharness (H) from the hooks (I).
    Fig 2: Identifying Left Console Side Panel, Right Console Side Panel, Hooks And Pins
    G06268521Courtesy of AMERICAN HONDA MOTOR CO., INC.
  5. Release the hooks (A, B), then separate the console upper box (C) and console lower box (D).
    Fig 3: Identifying Console Upper Box, Console Lower Box And Hooks
    G06268522Courtesy of AMERICAN HONDA MOTOR CO., INC.
  6. Assemble the console in the reverse order of removal, and make sure the console subharness connector is plugged in properly.