lemon-mirror:
Home >> Acura >> 2007 >> MDX >> Repair and Diagnosis >> Transmission >> Automatic Trans >> Automatic Transmission >> Transfer Assembly >> Disassembly

Transfer Assembly: Disassembly

Exploded View 

Fig 1: Exploded View Of Transfer Housing With Torque Specification
G05486050Courtesy of AMERICAN HONDA MOTOR CO., INC.

Special Tools Required 

Companion flange holder 07XAB-0010101

NOTE: Refer to the Exploded View as needed during the following procedure.
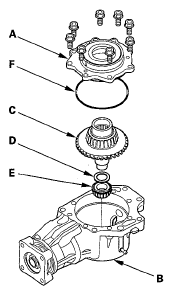
  1. Remove the transfer cover (A) from the transfer housing (B).
    Fig 2: Identifying Transfer Cover Of Transfer Housing
    G05486051Courtesy of AMERICAN HONDA MOTOR CO., INC.
  2. Remove the transfer hypoid drive gear/shaft assembly (C), 25 mm thrust shim (D), and tapered roller bearing (E).
  3. Remove the O-ring (F) from the cover.
  4. Drain the transfer fluid (hypoid gear oil) from the transfer housing.
  5. Cut the lock tab on the locknut using a chisel.
    Fig 3: Identifying Lock Tab On Locknut
    G05486052Courtesy of AMERICAN HONDA MOTOR CO., INC.
  6. Secure the transfer housing (A) in a bench vise (B) with soft jaws. To prevent damaging the transfer housing, always use soft jaws or equivalent materials between the transfer housing and the vise.
    Fig 4: Identifying Transfer Housing In Bench Vise
    G05486053Courtesy of AMERICAN HONDA MOTOR CO., INC.
  7. Install the companion flange holder on the companion flange, then loose the locknut.
  8. Remove the companion flange holder.
  9. Remove the locknut (A), conical spring washer (B), back-up ring (C), O-ring (D), and companion flange (E) from the transfer output shaft (hypoid gear) (F).
    Fig 5: Identifying Locknut , Conical Spring Washer, Back-Up Ring, O-Ring, And Companion Flange
    G05486054Courtesy of AMERICAN HONDA MOTOR CO., INC.
  10. Remove the transfer output shaft (hypoid gear) (A) from the transfer housing (B), then remove the thrust washer (C) and transfer spacer (D) from the transfer output shaft (hypoid gear).
    Fig 6: Identifying Transfer Output Shaft, Transfer Housing, Thrust Washer And Transfer Spacer
    G05486055Courtesy of AMERICAN HONDA MOTOR CO., INC.
  11. Remove the oil seal (A) and tapered roller bearing (B) from the transfer housing (C).
    Fig 7: Identifying Oil Seal, Tapered Roller Bearing And Transfer Housing
    G05486056Courtesy of AMERICAN HONDA MOTOR CO., INC.