lemon-mirror:
Home >> Acura >> 2007 >> RDX >> Repair and Diagnosis >> Body & Frame >> Seats >> Driver Position Memory System (DPMS) >> Power Seat Adjustment Switch Test/Replacement

Power Seat Adjustment Switch Test/Replacement

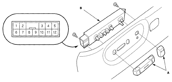
  1. Remove the driver's power seat adjustment switch knobs (A) and recline cover from the driver's power seat (see FRONT SEAT REMOVAL/INSTALLATION ), then remove the two screws and the power seat switch.
    Fig 1: Checking Screws And Power Seat Switch
    G05447761Courtesy of AMERICAN HONDA MOTOR CO., INC.
  2. Disconnect the 12P connector from the power seat adjustment switch (B).
  3. Reinstall the adjustment switch knobs to the switch.
  4. Check for continuity between the terminals in each switch position according to Fig 2.
    Fig 2: Checking For Continuity Between Terminals In Each Switch Position
    G05447762Courtesy of AMERICAN HONDA MOTOR CO., INC.
  5. If the continuity is not as specified, replace the switch.