lemon-mirror:
Home >> Acura >> 2007 >> RDX >> Repair and Diagnosis >> Transmission >> Automatic Trans >> Automatic Transmission >> ATF Replacement

ATF Replacement

NOTE: Keep all foreign particles out of the transmission.
  1. Warm up the engine to normal operating temperature (the radiator fan comes on), and turn the engine off.
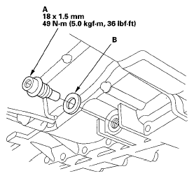
  2. Remove the ATF filler bolt and the drain plug (A), and drain the automatic transmission fluid (ATF).
    NOTE: If a cooler cleaning is done, refer to ATF Cooler Cleaning (see ATF COOLER CLEANING ).
    Fig 1: Drain Plug With Torque Specifications
    G05445113Courtesy of AMERICAN HONDA MOTOR CO., INC.
  3. Reinstall the drain plug with a new sealing washer (B).
  4. Refill the transmission with the recommended fluid into the filler hole (A). Always use Acura ATF-Z1 Automatic Transmission Fluid (ATF). Using a non-Acura ATF can affect shift quality.
    Fig 2: ATF Filler Bolt With Torque Specifications
    G05445114Courtesy of AMERICAN HONDA MOTOR CO., INC.
  5. Install the ATF filler bolt (B) and a new sealing washer (C).
  6. Check that the fluid level is between the upper mark and lower mark on the dipstick (see ATF LEVEL CHECK ).
  7. If the maintenance minder required to replace the ATF, reset the maintenance minder (see RESETTING THE MAINTENANCE-INFORMATION DISPLAY ), and this procedure is complete. If the maintenance minder did not require to replace the ATF, go to step  9 and reset the ATF life with the HDS.
  8. Connect the HDS to the DLC (A), and go to the BODY ELECTRICAL. If the HDS does not communicate with the PCM, troubleshoot the DLC circuit (see DLC CIRCUIT TROUBLESHOOTING ).
    Fig 3: Identifying Data Link Connector
    G05445115Courtesy of AMERICAN HONDA MOTOR CO., INC.
  9. Select ADJUSTMENT in the GAUGES MENU with the HDS.
  10. Select RESET in the MAINTENANCE MINDER with the HDS.
  11. Select MAINTENANCE SUB ITEM 3 RESET, and reset the ATF life with the HDS.