lemon-mirror:
Home >> Acura >> 2007 >> RDX >> Repair and Diagnosis >> Transmission >> Automatic Trans >> Automatic Transmission >> Shift Cable Replacement

Shift Cable Replacement

  1. Raise the vehicle up on a lift, or apply the parking brake, block rear wheels, and raise the front of the vehicle. Make sure it is securely supported.
  2. Do the battery removal procedure (see REMOVAL ).
  3. Remove the charge air cooler cover.
  4. Remove the air cleaner (see AIR CLEANER REMOVAL/INSTALLATION ).
  5. Remove the battery base (see step 7 on ENGINE REMOVAL ).
  6. Remove the center console panel (see CENTER CONSOLE REMOVAL/INSTALLATION ), and the driver's center console lower cover (see step 4 under CENTER CONSOLE REMOVAL/INSTALLATION ).
  7. Shift the transmission to R.
  8. Remove the nut securing the shift cable end.
    Fig 1: Removing Shift Cable End Nut
    G05445237Courtesy of AMERICAN HONDA MOTOR CO., INC.
  9. Rotate the socket holder (A) on the shift cable (B) a quarter turn; the tab (C) on the socket holder will be in the opening (D) of the shift cable bracket (E). Then slide the holder to remove the shift cable from the bracket.
    Fig 2: Removing Shift Cable
    G05445238Courtesy of AMERICAN HONDA MOTOR CO., INC.
  10. Remove the nuts securing the shift cable bracket (A).
    Fig 3: Removing Shift Cable Bracket Nuts
    G05445239Courtesy of AMERICAN HONDA MOTOR CO., INC.
  11. Remove the spring clip/washer ('07 model) (B), the spring clip ('08-09 models) (C), and control pin (D), then separate the shift cable end (E) from the control lever (F).
  12. Remove the heat shield from under the body.
  13. Remove the nuts securing the shift cable bracket.
    Fig 4: Shift Cable Bracket Nuts With Torque Specifications
    G05445240Courtesy of AMERICAN HONDA MOTOR CO., INC.
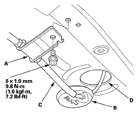
  14. Remove the nut securing the shift cable bracket (A).
    Fig 5: Shift Cable Bracket (A) Nut With Torque Specifications
    G05445241Courtesy of AMERICAN HONDA MOTOR CO., INC.
  15. Remove the shift cable grommet (B), and pull out the shift cable (C).
  16. Insert the new shift cable through the grommet hole (D), and install the grommet in its hole. Do not bend the shift cable excessively.
  17. Make sure that the transmission is in R at the transmission control lever.
  18. Apply molybdenum grease to the hole in the bushing (A) in the shift cable end (B). Attach the shift cable end to the control lever (C), then insert the control pin (D) into the control lever hole through the shift cable end, and secure the control pin with the spring clip/washer (E).
    Fig 6: Attaching Shift Cable End To Control Lever With Torque Specifications
    G05445242Courtesy of AMERICAN HONDA MOTOR CO., INC.
  19. Secure the shift cable bracket (F) with the nuts.
  20. Install the shift cable on the shift lever, and adjust the shift cable (see step  5 ).
  21. Install the battery base (see step 51 on ENGINE INSTALLATION ).
  22. Install the air cleaner (see AIR CLEANER REMOVAL/INSTALLATION ).
  23. Install the charge air cooler cover.
  24. Do the battery installation procedure (see INSTALLATION ).
  25. Do the power window control unit reset procedure (see RESETTING THE POWER WINDOW CONTROL UNIT ).