lemon-mirror:
Home >> Acura >> 2007 >> RDX >> Repair and Diagnosis >> Transmission >> Automatic Trans >> Automatic Transmission >> System Description >> Electronic Control System >> Lock-up Control

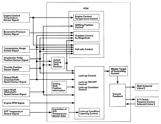
Lock-up Control

Shift solenoid valve D controls the hydraulic pressure to switch the lock-up shift valve and lock-up ON and OFF. When the PCM actuates the shift solenoid valve D and A/T clutch pressure control solenoid valve C ON, lock-up starts. A/T clutch pressure control solenoid valve C regulates and applies the hydraulic pressure to the lock-up control valve to control the amount of lock-up.

The lock-up mechanism operates in 2nd, 3rd, 4th, and 5th gears in D, and 2nd, 3rd, and 4th gears in S.

Fig 1: Lock-Up Control - Block Diagram
G05444936Courtesy of AMERICAN HONDA MOTOR CO., INC.