lemon-mirror:
Home >> Acura >> 2007 >> RDX >> Repair and Diagnosis >> Transmission >> Automatic Trans >> Automatic Transmission >> Transfer Assembly Removal

Transfer Assembly Removal

  1. Raise the vehicle on a lift, and make sure it is supported securely.
  2. Shift the transmission into N.
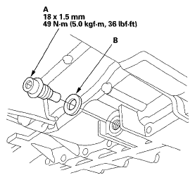
  3. Remove the drain plug (A), and drain the automatic transmission fluid (ATF).
    Fig 1: Drain Plug With Torque Specifications
    G05445120Courtesy of AMERICAN HONDA MOTOR CO., INC.
  4. Reinstall the drain plug with a new sealing washer (B).
  5. Remove the three-way catalytic converter.
    Fig 2: Removing Three-Way Catalytic Converter
    G05445121Courtesy of AMERICAN HONDA MOTOR CO., INC.
  6. Remove the bolt securing the transfer breather hose bracket (A), and disconnect the breather hose (B) from the breather pipe (C) on the transfer assembly. Cap the breather pipe to prevent fluid from leaking out.
    Fig 3: Identifying Transfer Breather Hose Bracket
    G05445122Courtesy of AMERICAN HONDA MOTOR CO., INC.
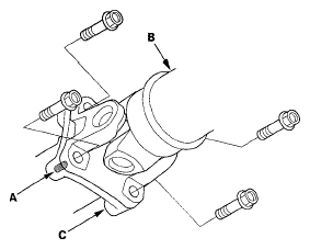
  7. Make a reference mark (A) across the propeller shaft (B) and the transfer companion flange (C).
    Fig 4: Identifying Reference Mark On Propeller Shaft And Transfer Companion Flange
    G05445123Courtesy of AMERICAN HONDA MOTOR CO., INC.
  8. Separate the propeller shaft from the transfer companion flange.
  9. Remove the transfer assembly from the transmission.
    Fig 5: Removing Transfer Assembly From Transmission
    G05445124Courtesy of AMERICAN HONDA MOTOR CO., INC.