lemon-mirror:
Home >> Acura >> 2007 >> RL >> Repair and Diagnosis >> Body & Frame >> Windows >> Power Rear Window Sunshade >> Switch Test

Switch Test

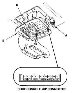
  1. Remove the roof console (see ROOF CONSOLE REPLACEMENT ).
  2. Disconnect the 28P connector (A) from the roof console (B).
    Fig 1: Identifying Roof Console And 28P Connector
    G05497217Courtesy of AMERICAN HONDA MOTOR CO., INC.
  3. Check for continuity between the No. 11 and No. 12 terminals.
    • There should be continuity when the switch is pushed.
    • There should be no continuity when the switch is released.
  4. If the continuity is not as specified, replace the roof console (see ROOF CONSOLE REPLACEMENT ).