lemon-mirror:
Home >> Acura >> 2007 >> RL >> Repair and Diagnosis >> Electrical >> Body Electrical >> Accessory Power Sockets >> Front Accessory Power Socket Test/Replacement

Front Accessory Power Socket Test/Replacement

  1. Remove the console panel (see CENTER CONSOLE REMOVAL/INSTALLATION ).
  2. Disconnect the 2P connector (A) from the front accessory power socket (B).
    Fig 1: Identifying Front Accessory Power Socket And 2P Connector
    G05497163Courtesy of AMERICAN HONDA MOTOR CO., INC.
  3. Inspect the connector terminals to be sure they are all making good contact.
    • If the terminals are bent, loose, or corroded, repair them as necessary, and recheck the system.
    • If the terminals look OK, go to step 4.
  4. Turn the ignition switch to ACC (I), and measure the voltage between the No. 1 terminal and body ground. There should be battery voltage.
    • If there is battery voltage, go to step 5.
    • If there is no battery voltage, check for:
      • Blown No. 9 (20A) or No. 32 (10A) fuse in the driver's under-dash fuse/relay box.
      • Faulty accessory power socket relay.
      • Poor ground (G503, G601)
      • An open in the wire.
  5. Check for continuity between the No. 2 terminal and body ground. There should be continuity.
    • If there is continuity, go to step 6.
    • If there is no continuity, check for:
      • Poor ground (G503)
      • An open in the wire.
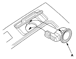
  6. Remove the socket (A).
    Fig 2: Identifying Power Socket
    G05497164Courtesy of AMERICAN HONDA MOTOR CO., INC.
  7. Remove the ring (A).
    Fig 3: Identifying Power Socket Ring
    G05497165Courtesy of AMERICAN HONDA MOTOR CO., INC.
  8. Install the power socket in the reverse order of removal.