lemon-mirror:
Home >> Acura >> 2007 >> RL >> Repair and Diagnosis >> Engine Performance >> System >> Fuel Supply System >> Fuel Pressure Regulator Replacement

Fuel Pressure Regulator Replacement

NOTE: If the fuel tank is full, drain the fuel (see FUEL TANK DRAINING  ).
  1. Remove the fuel tank unit (see FUEL PUMP/FUEL GAUGE SENDING UNIT REPLACEMENT  ).
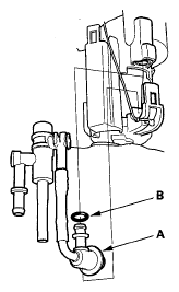
  2. Remove the fuel pressure regulator (A).
    Fig 1: Identifying Fuel Pressure Regulator
    G05495266Courtesy of AMERICAN HONDA MOTOR CO., INC.
  3. Install the parts in the reverse order of removal with a new O-ring (B).
    NOTE: Coat the O-rings with clean engine oil. Do not use any other type of oil or fluid. Do not pinch the O-rings during installation.