lemon-mirror:
Home >> Acura >> 2007 >> RL >> Repair and Diagnosis >> Transmission >> Automatic Trans >> Automatic Transmission >> ATF Replacement

ATF Replacement

NOTE: Keep all foreign particles out of the transmission.
  1. Warm up the engine to normal operating temperature (the radiator fan comes on), and turn the engine off.
  2. Raise the vehicle on a lift, or apply the parking brake, block both rear wheels, and raise the front of the vehicle. Make sure it is securely supported.
  3. Remove the splash shield.
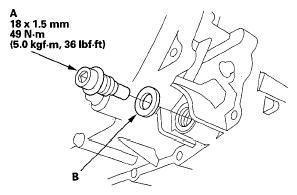
  4. Remove the ATF filler bolt and drain plug (A), and drain the automatic transmission fluid (ATF).
    NOTE: If a cooler cleaning is done, refer to ATF Cooler Cleaning (see ATF COOLER CLEANING  ).
    Fig 1: Drain Plug And Sealing Washer With Torque Specifications
    G05495620Courtesy of AMERICAN HONDA MOTOR CO., INC.
  5. Reinstall the drain plug with a new sealing washer (B).
  6. Refill the transmission with the recommended fluid through the filler hole (A). Always use Acura ATF-Z1 Automatic Transmission Fluid (ATF). Using a non-Acura ATF can affect shift quality.

    Automatic Transmission Fluid Capacity: 

    2.7 L (2.9 US qt) at change 

    7.2 L (7.6 US qt) at overhaul 

    Fig 2: ATF Filler Bolt And Sealing Washer With Torque Specifications
    G05495621Courtesy of AMERICAN HONDA MOTOR CO., INC.
  7. Install the ATF filler bolt (B) and a new sealing washer (C).
  8. Check the ATF level (see ATF LEVEL CHECK  ).