lemon-mirror:
Home >> Acura >> 2007 >> RL >> Repair and Diagnosis >> Transmission >> Automatic Trans >> Automatic Transmission >> Transfer Assembly Removal

Transfer Assembly Removal

  1. Raise the vehicle on a lift, and make sure it is supported securely.
  2. Shift the transmission into N.
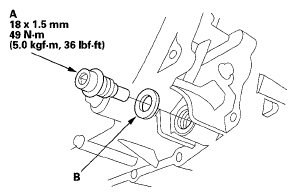
  3. Remove the ATF filler bolt and drain plug (A), and drain the automatic transmission fluid (ATF).
    Fig 1: Drain Plug And Sealing Washer With Torque Specifications
    G05495626Courtesy of AMERICAN HONDA MOTOR CO., INC.
  4. Reinstall the drain plug and a new sealing washer (B).
  5. Remove exhaust pipe A.
    Fig 2: Identifying Exhaust Pipe
    G05495627Courtesy of AMERICAN HONDA MOTOR CO., INC.
  6. Remove the bolt securing the transfer breather tube bracket (A), and disconnect the breather tube (B) from the breather pipe (C) on the transfer assembly. Cap the breather pipe to prevent fluid from leaking out.
    Fig 3: Identifying Transfer Breather Tube Bracket, Breather Tube And Breather Pipe
    G05495628Courtesy of AMERICAN HONDA MOTOR CO., INC.
  7. Make a reference mark (A) across the propeller shaft (B) and the transfer companion flange (C).
    Fig 4: Identifying Reference Mark Across Propeller Shaft And Transfer Companion Flange
    G05495629Courtesy of AMERICAN HONDA MOTOR CO., INC.
  8. Separate the propeller shaft from the transfer companion flange.
  9. Remove the transfer assembly from the transmission.
    Fig 5: Identifying Transfer Assembly
    G05495630Courtesy of AMERICAN HONDA MOTOR CO., INC.