lemon-mirror:
Home >> Acura >> 2007 >> RL >> Repair and Diagnosis >> Transmission >> Automatic Trans >> Automatic Transmission >> Transfer Assembly >> Disassembly >> Exploded View

Exploded View

Fig 1: Exploded View Of Transfer Assembly With Torque Specifications
G05496038Courtesy of AMERICAN HONDA MOTOR CO., INC.

Special Tools Required 

Companion flange holder 07XAB-0010101

  1. Remove the transfer cover (A) from the transfer housing (B).
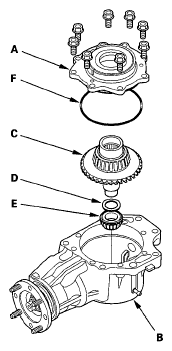
    Fig 2: Identifying Transfer Cover, Transfer Housing And Transfer Hypoid Drive Gear/Shaft Assembly
    G05496039Courtesy of AMERICAN HONDA MOTOR CO., INC.
  2. Remove the transfer hypoid drive gear/shaft assembly (C), 25 mm thrust shim (D), and tapered roller bearing (E).
  3. Remove the O-ring (F) from the cover.
  4. Drain the transfer fluid (hypoid gear oil) from the transfer housing.
  5. Cut the lock tab on the locknut using a chisel.
    Fig 3: Cutting Lock
    G05496040Courtesy of AMERICAN HONDA MOTOR CO., INC.
  6. Secure the transfer housing in a bench vise with soft jaws. To prevent damage to the transfer housing, always use soft jaws or equivalent materials between the transfer housing and the vise.
    Fig 4: Removing Transfer Housing Nut
    G05496041Courtesy of AMERICAN HONDA MOTOR CO., INC.
  7. Install the companion flange holder on the companion flange, then loosen the locknut.
  8. Remove the companion flange holder.
  9. Remove the locknut (A), conical spring washer (B), back-up ring (C), O-ring (D), and companion flange (E) from the transfer output shaft (hypoid gear) (F).
    Fig 5: Identifying Locknut, Conical Spring Washer, Back-Up Ring, O-Ring And Companion Flange
    G05496042Courtesy of AMERICAN HONDA MOTOR CO., INC.
  10. Remove the transfer output shaft (hypoid gear) (A) from the transfer housing (B), then remove the thrust washer (C) and transfer spacer (D) from the transfer output shaft (hypoid gear).
    Fig 6: Identifying Thrust Washer, Transfer Spacer And Transfer Output Shaft
    G05496043Courtesy of AMERICAN HONDA MOTOR CO., INC.
  11. Remove the oil seal (A) and the tapered roller bearing (B) from the transfer housing.
    Fig 7: Identifying Oil Seal And Tapered Roller Bearing
    G05496044Courtesy of AMERICAN HONDA MOTOR CO., INC.