lemon-mirror:
Home >> Acura >> 2007 >> TL Base >> Repair and Diagnosis >> Engine Mechanical >> Mechanical >> Engine Block >> Piston Ring Replacement

Piston Ring Replacement

  1. Remove the pistons from the engine block (see CRANKSHAFT AND PISTON REMOVAL  ).
  2. Using a ring expander (A), remove the old piston rings (B).
    Fig 1: Removing Piston Rings
    G05457774Courtesy of AMERICAN HONDA MOTOR CO., INC.
  3. Clean all the ring grooves thoroughly with a squared-off broken ring, or a ring groove cleaner with a blade to fit the piston grooves. File down the blade, if necessary. The top ring and second ring grooves are 1.2 mm (0.05 in.) wide, and the oil ring groove is 2.8 mm (0.11 in.) wide. Do not use a wire brush to clean the ring grooves, or cut the ring grooves deeper with the cleaning tool.
    NOTE: If the piston is to be separated from the connecting rod, do not install new rings yet.
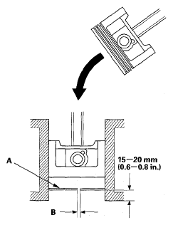
  4. Using a piston, push a new ring (A) into the cylinder bore 15-20 mm (0.6-0.8 in.) from the bottom.
    Fig 2: Pushing Ring Into Cylinder Bore
    G05457775Courtesy of AMERICAN HONDA MOTOR CO., INC.
  5. Measure the piston ring end-gap (B) with a feeler gauge:
    • If the gap is too small, check to see if you have the proper rings for your engine.
    • If the gap is too large, recheck the cylinder bore diameter against the wear limits (see step 4 on BLOCK AND PISTON INSPECTION  ). If the bore is over the service limit, the engine block must be rebored.

      Piston Ring End-Gap 

      Top Ring: 

      Standard (New): 0.20-0.35 mm (0.008-0.014 in.) 

      Service Limit: 0.60 mm (0.024 in.) 

      Second Ring: 

      Standard (New): 0.40-0.55 mm (0.016-0.022 in.) 

      Service Limit: 0.70 mm (0.028 in.) 

      Oil Ring: 

      Standard (New): 0.20-0.70 mm (0.008-0.028 in.) 

      Service Limit: 0.80 mm (0.031 in.) 

  6. Install the rings as shown. The top ring (A) has a 1D mark and the second ring (B) has a 2C mark. The manufacturing marks (C) must be facing upward.
    Fig 3: Installing Piston Rings
    G05457776Courtesy of AMERICAN HONDA MOTOR CO., INC.

    Piston Ring Dimensions: 

    Fig 4: Identifying Piston Ring Dimensions
    G05457777Courtesy of AMERICAN HONDA MOTOR CO., INC.
  7. Rotate the rings in their grooves to make sure they do not bind.
  8. Position the ring end gaps as shown:
    Fig 5: Positioning Ring End Gaps
    G05457778Courtesy of AMERICAN HONDA MOTOR CO., INC.
  9. After installing a new set of rings, measure the ring-to-groove clearance:
    NOTE: After the inspection, make sure each ring is in proper position as step 7.

    J32A3 engine 

    Top Ring Clearance 

    Standard (New): 0.055-0.080 mm (0.0022-0.0031 in.) 

    Service Limit: 0.15 mm (0.006 in.) 

    Second Ring Clearance 

    Standard (New): 0.030-0.055 mm (0.0012-0.0022 in.) 

    Service Limit: 0.13 mm (0.005 in.) 

    J35A8 engine 

    Top Ring Clearance 

    Standard (New): 0.065-0.090 mm (0.0026-0.0035 in.) 

    Service Limit: 0.15 mm (0.006 in.) 

    Second Ring Clearance 

    Standard (New): 0.030-0.055 mm (0.0012-0.0022 in.) 

    Service Limit: 0.13 mm (0.005 in.) 

    Fig 6: Measuring Ring Clearance
    G05457779Courtesy of AMERICAN HONDA MOTOR CO., INC.