lemon-mirror:
Home >> Acura >> 2007 >> TL Base >> Repair and Diagnosis >> Steering >> Power Steering >> Power Steering System >> Steering Lock Replacement

Steering Lock Replacement

  1. Remove the steering column (see STEERING COLUMN REMOVAL AND INSTALLATION  ).
  2. Center-punch each of the two shear bolts, and drill their heads off with a 5 mm (3/16 in.) drill bit. Be careful not to damage the switch body and steering column when removing the shear bolts.
    Fig 1: Drilling Shear Bolts
    G05461522Courtesy of AMERICAN HONDA MOTOR CO., INC.
  3. Remove the shear bolts from the switch body.
  4. Install the switch body without the key inserted.
  5. Loosely tighten the new shear bolts.
  6. Insert the ignition key, and check for proper operation of the steering wheel lock and that the ignition key turns freely.
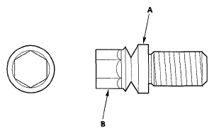
  7. Tighten the shear bolts (A) until the hex heads (B) twist off.
    Fig 2: Identifying Shear Bolts And Hex Heads
    G05461523Courtesy of AMERICAN HONDA MOTOR CO., INC.
  8. Register the immobilizer control unit-receiver (see IMMOBILIZER KEY REGISTRATION ) and make sure the immobilizer system works properly.