lemon-mirror:
Home >> Acura >> 2007 >> TL Base >> Repair and Diagnosis >> Transmission >> Automatic Trans >> Automatic Transmission >> Clutch Disassembly

Clutch Disassembly

Special Tools Required 

  1. Remove the snap ring (A) using a screwdriver (B).
    Fig 1: Removing Snap Ring Using Screwdriver
    G05459273Courtesy of AMERICAN HONDA MOTOR CO., INC.
  2. Remove the 1st clutch end-plate (A), the 1st clutch discs (B) (5), the 1st clutch wave-plates (C) (5), the disc spring (D), 1st-hold clutch plate B (E), the 1st-hold clutch discs (F) (3), the 1st-hold clutch wave-plates (G) (2), and the 1st-hold clutch flat-plate (H) from the 1st/1st-hold clutch drum (I).
    Fig 2: Identifying 1st Clutch End-Plate, 1st Clutch Discs, 1st Clutch Wave-Plates And 1st/1st-Hold Clutch Drum
    G05459274Courtesy of AMERICAN HONDA MOTOR CO., INC.
  3. Make reference marks on the clutch wave-plates.
  4. Remove the clutch end-plate (A), the clutch discs (B) (7), the clutch wave-plates (C) (3), and the clutch fiat-plates (D) (4) from the 2nd clutch drum (E).
    Fig 3: Identifying Clutch End-Plate, Clutch Discs, Clutch Wave-Plates And 2nd Clutch Drum
    G05459275Courtesy of AMERICAN HONDA MOTOR CO., INC.
  5. Make reference marks on the clutch wave-plates.
  6. Remove the clutch end-plate (A), the clutch discs (B) (5), the clutch wave-plates (C) (2), the clutch flat-plates (D) (3), and the disc spring (E) from the 3rd clutch drum (F).
    Fig 4: Identifying Clutch End-Plate, Clutch Discs, Clutch Wave-Plates And 3rd Clutch Drum
    G05459276Courtesy of AMERICAN HONDA MOTOR CO., INC.
  7. Make reference marks on the clutch wave-plates.
  8. Remove the clutch end-plate (A), the clutch discs (B) (4), the clutch wave-plates (C) (2), the clutch flat-plates (D) (2), and the disc spring (E) from the 4th clutch drum (F).
    Fig 5: Identifying Clutch End-Plate, Clutch Discs, Clutch Wave-Plates And 4th Clutch Drum
    G05459277Courtesy of AMERICAN HONDA MOTOR CO., INC.
  9. Make reference marks on the clutch wave-plates.
  10. Remove the clutch end-plate (A), the clutch discs (B) (5), the clutch wave-plates (C) (2), the clutch flat-plates (D) (3), and the disc spring (E) from the 5th clutch drum (F).
    Fig 6: Identifying Clutch End-Plate, Clutch Discs, Clutch Wave-Plates And 5th Clutch Drum
    G05459278Courtesy of AMERICAN HONDA MOTOR CO., INC.
  11. Make reference marks on the clutch wave-plates.
  12. Install the clutch spring compressor attachment and the clutch spring compressor bolt assembly.
    Fig 7: Installing Clutch Spring Compressor Attachment And Clutch Spring Compressor Bolt Assembly
    G05459279Courtesy of AMERICAN HONDA MOTOR CO., INC.
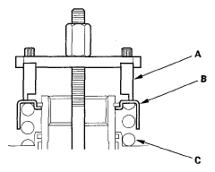
  13. Be sure the clutch spring compressor attachment (A) is adjusted to have full contact with the spring retainer (B) on the 1st, 2nd, and 4th clutches.
    Fig 8: Identifying Clutch Spring Compressor Attachment And Spring Retainer
    G05459280Courtesy of AMERICAN HONDA MOTOR CO., INC.
  14. If either end of the clutch spring compressor attachment is set over an area of the spring retainer that is unsupported by the return spring, the retainer may be damaged.
    Fig 9: Identifying Spring Retainer
    G05459281Courtesy of AMERICAN HONDA MOTOR CO., INC.
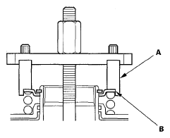
  15. Set the clutch spring compressor attachment (A) on the spring retainer (B) of the 3rd and 5th clutches so the clutch spring compressor attachment works on the clutch return spring (C).
    Fig 10: Identifying Clutch Spring Compressor Attachment, Spring Retainer And Clutch Return Spring
    G05459282Courtesy of AMERICAN HONDA MOTOR CO., INC.
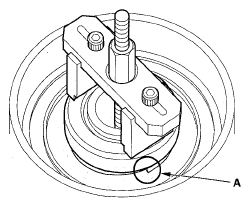
  16. If either end of the clutch spring compressor attachment is not set over the clutch return spring end (A), the retainer may be damaged.
    Fig 11: Identifying Clutch Return Spring End
    G05459283Courtesy of AMERICAN HONDA MOTOR CO., INC.
  17. Compress the return spring until the snap ring can be removed.
    Fig 12: Compressing Return Spring
    G05459284Courtesy of AMERICAN HONDA MOTOR CO., INC.
  18. Remove the snap ring using the snap ring pliers.
    Fig 13: Removing Snap Ring Using Snap Ring Pliers
    G05459285Courtesy of AMERICAN HONDA MOTOR CO., INC.
  19. Remove the clutch spring compressor attachment and the clutch spring compressor bolt assembly.
  20. Remove the snap ring (A), the spring retainer (B), and the return spring (C).
    Fig 14: Identifying Snap Ring, Spring Retainer And Return Spring
    G05459286Courtesy of AMERICAN HONDA MOTOR CO., INC.
  21. Wrap a shop rag around the clutch drum, and apply air pressure to the fluid passage to remove the piston. Place a finger tip on the other passage while applying air pressure.
    Fig 15: Applying Air Pressure To Fluid Passage
    G05459287Courtesy of AMERICAN HONDA MOTOR CO., INC.
  22. Remove the 1st/1st-hold clutch piston (A) from the clutch drum (B), and remove the O-rings from the 1st clutch piston.
    Fig 16: Identifying 1st/1st-Hold Clutch Piston And Clutch Drum
    G05459288Courtesy of AMERICAN HONDA MOTOR CO., INC.
  23. Remove the 1st-hold clutch piston (A) from the 1st clutch piston (B), and remove the O-rings from the 1st-hold clutch piston.
    Fig 17: Identifying 1st-Hold Clutch Piston And 1st Clutch Piston
    G05459289Courtesy of AMERICAN HONDA MOTOR CO., INC.
  24. Remove the clutch piston, and remove the O-rings from the 2nd, 3rd, 4th, and 5th clutch pistons.
    Fig 18: Identifying Clutch Piston And O-Rings
    G05459290Courtesy of AMERICAN HONDA MOTOR CO., INC.