lemon-mirror:
Home >> Acura >> 2007 >> TL Base >> Repair and Diagnosis >> Transmission >> Automatic Trans >> Automatic Transmission >> Clutch Reassembly

Clutch Reassembly

Special Tools Required 

  1. Soak the clutch discs thoroughly in ATF for a minimum of 30 minutes.
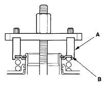
  2. Install new O-rings (A) on the 1st-hold clutch piston (B), and install the 1st-hold clutch piston in the 1st clutch piston (C).
    Fig 1: Identifying O-Rings, 1st-Hold Clutch Piston And 1st Clutch Piston
    G05459306Courtesy of AMERICAN HONDA MOTOR CO., INC.
  3. Install new O-rings (A) on the 1st clutch piston (B), and install the 1st/1st-hold clutch piston in the 1st/ 1st-hold clutch drum (C) while applying pressure and rotating to ensure proper seating. Do not pinch the O-ring.
    Fig 2: Identifying O-Rings, 1st Clutch Piston And 1st/ 1st-Hold Clutch Drum
    G05459307Courtesy of AMERICAN HONDA MOTOR CO., INC.
  4. Install the O-rings (A) on the 2nd, 3rd, 4th, and 5th clutch piston (B).
    Fig 3: Identifying O-Rings And Clutch Piston
    G05459308Courtesy of AMERICAN HONDA MOTOR CO., INC.
  5. Install the clutch pistons in the clutch drums (C) while applying pressure and rotating to ensure proper seating. Do not pinch the O-ring.
  6. Install the return spring (A) and the spring retainer (B), and position the snap ring (C) on the spring retainer.
    Fig 4: Identifying Return Spring, Spring Retainer And Snap Ring
    G05459309Courtesy of AMERICAN HONDA MOTOR CO., INC.
  7. Install the clutch spring compressor attachment and the clutch spring compressor bolt assembly.
    Fig 5: Installing Clutch Spring Compressor Attachment And Clutch Spring Compressor Bolt Assembly
    G05459310Courtesy of AMERICAN HONDA MOTOR CO., INC.
  8. Be sure the clutch spring compressor attachment (A) is adjusted to have full contact with the spring retainer (B) on the 1st, 2nd, and 4th clutches.
    Fig 6: Identifying Clutch Spring Compressor Attachment And Spring Retainer
    G05459311Courtesy of AMERICAN HONDA MOTOR CO., INC.
  9. If either end of the clutch spring compressor attachment is set over an area of the spring retainer that is unsupported by the return spring, the retainer may be damaged.
    Fig 7: Identifying Clutch Spring Compressor Attachment
    G05459312Courtesy of AMERICAN HONDA MOTOR CO., INC.
  10. Set the clutch spring compressor attachment (A) on the spring retainer (B) of the 3rd and 5th clutches so the clutch spring compressor attachment works on the clutch return spring (C).
    Fig 8: Identifying Clutch Spring Compressor Attachment, Spring Retainer And Clutch Return Spring
    G05459313Courtesy of AMERICAN HONDA MOTOR CO., INC.
  11. If either end of the clutch spring compressor attachment is not set over the clutch return spring end (A), the retainer may be damaged.
    Fig 9: Identifying Clutch Return Spring End
    G05459314Courtesy of AMERICAN HONDA MOTOR CO., INC.
  12. Compress the return spring until the snap ring can be installed.
    Fig 10: Compressing Return Spring
    G05459315Courtesy of AMERICAN HONDA MOTOR CO., INC.
  13. Install the snap ring using the snap ring pliers.
    Fig 11: Installing Snap Ring Using Snap Ring Pliers
    G05459316Courtesy of AMERICAN HONDA MOTOR CO., INC.
  14. Remove the clutch spring compressor attachment and the clutch spring compressor bolt assembly.
  15. Install the 1st-hold clutch flat-plate (A), alternately install the clutch discs (B) (3) and the 1st-hold clutch wave-plates (C) (2) in the 1st/1st-hold clutch drum (D), then install 1st-hold clutch plate B (E) with the flat side down in the direction shown.
    Fig 12: Identifying Clutch Discs, 1st-Hold Clutch Wave-Plates And 1st/1st-Hold Clutch Drum
    G05459317Courtesy of AMERICAN HONDA MOTOR CO., INC.
  16. Install the disc spring (F) on 1st-hold clutch plate B in the direction shown. Starting with the 1st clutch wave-plate, alternately install the wave-plates (G) (5) and the discs (H) (5), then install the clutch end-plate (I) with the flat side down on the top disc.
  17. Starting with the 2nd clutch flat-plate, alternately install the flat-plates (A) (4) and the discs (B) (4) in the 2nd clutch drum (C), and alternately install the wave-plates (D) (3) and the discs (B) (3). Install the clutch end-plate (E) with the flat side down on the top disc.
    Fig 13: Identifying Discs, 2nd Clutch Drum And Wave-Plates
    G05459318Courtesy of AMERICAN HONDA MOTOR CO., INC.
  18. Install the disc spring (A) in the 3rd clutch drum (B) in the direction shown. Starting with the 3rd clutch flat-plate, alternately install the flat-plates (C) (3) and the discs (D) (3), and alternately install the wave-plates (E) (2) and the discs (D) (2). Install the clutch end-plate (F) with the flat side down on the top disc.
    Fig 14: Identifying Discs, 3rd Clutch Drum And Wave-Plates
    G05459319Courtesy of AMERICAN HONDA MOTOR CO., INC.
  19. Install the disc spring (A) in the 4th clutch drum (B) in the direction shown. Starting with the 4th clutch flat-plate, alternately install the flat-plates (C) (2) and the discs (D) (2), and alternately install the wave-plates (E) (2) and the discs (D) (2). Install the clutch end-plate (F) with the flat side down on the top disc.
    Fig 15: Identifying Discs, 4th Clutch Drum And Wave-Plates
    G05459320Courtesy of AMERICAN HONDA MOTOR CO., INC.
  20. Install the disc spring (A) in the 5th clutch drum (B) in the direction shown. Starting with the 5th clutch flat-plate, alternately install the flat-plates (C) (3) and the discs (D) (3), and alternately install the wave-plates (E) (2) and the discs (D) (2). Install the clutch end-plate (F) with the flat side down on the top disc.
    Fig 16: Identifying Discs, 5th Clutch Drum And Wave-Plates
    G05459321Courtesy of AMERICAN HONDA MOTOR CO., INC.
  21. Install the snap ring using a screwdriver to secure the clutch end-plate.
    Fig 17: Installing Snap Ring Using Screwdriver
    G05459322Courtesy of AMERICAN HONDA MOTOR CO., INC.