lemon-mirror:
Home >> Acura >> 2007 >> TL Base >> Repair and Diagnosis >> Transmission >> Automatic Trans >> Automatic Transmission >> Transmission Installation

Transmission Installation

Special Tools Required 

NOTE: Use fender covers to avoid damaging painted surfaces.
  1. Clean the ATF cooler (see ATF COOLER CLEANING  ).
  2. Install the torque converter (A) on the mainshaft (B) with a new O-ring (C).
    Fig 1: Identifying Torque Converter, Mainshaft And O-Ring
    G05459044Courtesy of AMERICAN HONDA MOTOR CO., INC.
  3. Install the 14 mm dowel pin (D) and the 10 mm dowel pin (E) in the torque converter housing.
  4. Install the starter (A), a new gasket (B), and harness clamp bracket (C) on the transmission.
    Fig 2: Starter, Gasket And Harness Clamp Bracket With Torque Specifications
    G05459045Courtesy of AMERICAN HONDA MOTOR CO., INC.
  5. Install the transmission lower mount with new bolts.
    Fig 3: Transmission Lower Mount And Bolts With Torque Specifications
    G05459046Courtesy of AMERICAN HONDA MOTOR CO., INC.
  6. Place the transmission on the jack, and raise it to the engine level.
  7. Attach the transmission to the engine, and install the lower transmission housing mounting bolts.
    Fig 4: Lower Transmission Housing Mounting Bolts With Torque Specifications
    G05459047Courtesy of AMERICAN HONDA MOTOR CO., INC.
  8. Install the rear transmission housing mounting bolts.
    Fig 5: Rear Transmission Housing Mounting Bolts With Torque Specifications
    G05459048Courtesy of AMERICAN HONDA MOTOR CO., INC.
  9. Install the upper transmission housing mounting bolts.
    Fig 6: Upper Transmission Housing Mounting Bolts With Torque Specifications
    G05459049Courtesy of AMERICAN HONDA MOTOR CO., INC.
  10. Install the transmission housing mounting bolt (A).
    Fig 7: Transmission Housing Mounting Bolt With Torque Specifications
    G05459050Courtesy of AMERICAN HONDA MOTOR CO., INC.
  11. Install the sensor harness clamps (B) on the clamp bracket (C).
  12. Install the front mount bracket (D) with new mounting bolts.
  13. Install a new set ring (A) on the intermediate shaft (B), and install the intermediate shaft in the differential. While installing the intermediate shaft in the differential, be sure not to allow dust or other foreign particles to enter the transmission.
    Fig 8: Set Ring And Intermediate Shaft With Torque Specifications
    G05459051Courtesy of AMERICAN HONDA MOTOR CO., INC.
  14. Install the exhaust manifold bracket (C) and the heat shield (D).
  15. Install a new set ring on the left driveshaft, then install the left driveshaft in the differential (see DRIVESHAFT INSTALLATION ). While installing the driveshaft in the differential, be sure not to allow dust or other foreign particles to enter the transmission. Install the right driveshaft over the intermediate shaft.
    NOTE: Turn the right and left steering knuckle fully outward, and slide the driveshaft and the intermediate shaft into the differential and the intermediate shaft until you feel its set ring engage the side gear.
  16. Support the front subframe (A) with the front subframe adapter (VSB02C000016) and a jack, and lift it up to the body.
    Fig 9: Supporting Front Subframe With Front Subframe Adapter And Jack
    G05459052Courtesy of AMERICAN HONDA MOTOR CO., INC.
  17. Loosely install new subframe mounting bolts (A), new rear stiffener mounting bolts (B), the front stiffener mounting bolts (C), and the front and rear stiffeners.
    Fig 10: Subframe Mounting Bolts, Rear Stiffener Mounting Bolts And Front Stiffener Mounting Bolts With Torque Specifications
    G05459053Courtesy of AMERICAN HONDA MOTOR CO., INC.
  18. Loosely install new front subframe middle mount mounting bolts.
    Fig 11: Front Subframe Middle Mount Mounting Bolts With Torque Specifications
    G05459054Courtesy of AMERICAN HONDA MOTOR CO., INC.
  19. Align the reference marks (A) with the edge (B) of both the rear stiffeners (C), and tighten the rear subframe mounting bolts, then the front bolts, and tighten the stiffener bolts to the specified torque.
    Fig 12: Aligning Reference Marks With Edge Of Both Rear Stiffeners
    G05459055Courtesy of AMERICAN HONDA MOTOR CO., INC.
  20. Tighten the subframe middle mount mounting bolts.
  21. Install the transmission lower mount bolt.
    Fig 13: Transmission Lower Mount Bolt With Torque Specifications
    G05459056Courtesy of AMERICAN HONDA MOTOR CO., INC.
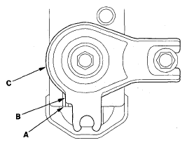
  22. Install the new rear engine mount bracket bolts.
    Fig 14: Rear Engine Mount Bracket Bolts With Torque Specifications
    G05459057Courtesy of AMERICAN HONDA MOTOR CO., INC.
  23. Install the shift cable bracket to the front subframe.
    Fig 15: Shift Cable Bracket With Torque Specifications
    G05459058Courtesy of AMERICAN HONDA MOTOR CO., INC.
  24. Attach the torque converter to the drive plate (A) with the eight bolts (B). Rotate the crankshaft pulley as necessary to tighten the bolt to 1/2 of the specified torque, then to the final torque, in a crisscross pattern. After tightening the last bolt, check that the crankshaft rotates freely.
    Fig 16: Drive Plate And Bolts With Torque Specifications
    G05459059Courtesy of AMERICAN HONDA MOTOR CO., INC.
  25. Install the torque converter cover (C).
  26. Connect the power steering pressure switch connector.
    Fig 17: Identifying Power Steering Pressure Switch Connector
    G05459060Courtesy of AMERICAN HONDA MOTOR CO., INC.
  27. Connect the power steering hose to the power steering line.
    Fig 18: Identifying Power Steering Hose
    G05459061Courtesy of AMERICAN HONDA MOTOR CO., INC.
  28. Install the steering gearbox heat shield (A).
    Fig 19: Steering Gearbox Heat Shield With Torque Specifications
    G05459062Courtesy of AMERICAN HONDA MOTOR CO., INC.
  29. Install exhaust pipe A with new self-locking nuts, its mount (B), and new gaskets (C) (D).
    Fig 20: Mount And New Gaskets With Torque Specifications
    G05459063Courtesy of AMERICAN HONDA MOTOR CO., INC.
  30. Install the damper forks (A) with the damper pinch bolts (B) and new self-locking nuts (C), then install the ball joints on the lower arms (D) with the ball joint nuts (E) and new cotter pins (F) (see step 9 on LOWER ARM REMOVAL/INSTALLATION ).
    Fig 21: Damper Forks, Damper Pinch Bolts And Self-Locking Nuts With Torque Specifications
    G05459064Courtesy of AMERICAN HONDA MOTOR CO., INC.
  31. Install the tie-rod end ball joints (G) to each knuckle with the nuts (H) and new cotter pins (I) (see step 17 on KNUCKLE/HUB/WHEEL BEARING REPLACEMENT ).
  32. Install the stabilizer links (J) to the lower arms, and install the nuts (K). Insert a 6 mm alien wrench (L) in the ball joint (M), and tighten the nuts.
  33. Install a new front engine mount bolt (A).
    Fig 22: Front Engine Mount Bolts With Torque Specifications
    G05459065Courtesy of AMERICAN HONDA MOTOR CO., INC.
  34. Install the front engine mount stop (B).
  35. Remove the engine support hanger and the engine balancer bar.
  36. Install the transmission upper mount and the ground cable.
    Fig 23: Transmission Upper Mount With Torque Specifications
    G05459066Courtesy of AMERICAN HONDA MOTOR CO., INC.
  37. Install the front A/F sensor connector stay on the engine front cylinder head.
    Fig 24: Front A/F Sensor Connector Stay With Torque Specifications
    G05459067Courtesy of AMERICAN HONDA MOTOR CO., INC.
  38. Install the rear A/F sensor connector stay on the engine rear cylinder head.
    Fig 25: Rear A/F Sensor Connector Stay With Torque Specifications
    G05459068Courtesy of AMERICAN HONDA MOTOR CO., INC.
  39. Connect the 2nd clutch transmission fluid pressure switch connector (A), and secure the vacuum line with the bolt.
    Fig 26: 2nd Clutch Transmission Fluid Pressure Switch Connector With Torque Specifications
    G05459069Courtesy of AMERICAN HONDA MOTOR CO., INC.
  40. Connect the ATF cooler hoses (A) to the ATF cooler lines (B), and secure the hoses with the clips (C) (see ATF COOLER CLEANING  ).
    Fig 27: Identifying ATF Cooler Hoses, ATF Cooler Lines And Clips
    G05459070Courtesy of AMERICAN HONDA MOTOR CO., INC.
  41. Connect the output shaft (countershaft) speed sensor connector (A), the input shaft (mainshaft) speed sensor connector (B), and the 3rd clutch transmission fluid pressure switch connector (C). Connect the ATF temperature sensor connector (D), and install the connector on the connector bracket (E).
    Fig 28: Identifying Output Shaft (Countershaft) Speed Sensor Connector And Input Shaft (Mainshaft) Speed Sensor Connector
    G05459071Courtesy of AMERICAN HONDA MOTOR CO., INC.
  42. Connect the transmission range switch connector, and install the harness clamp on the clamp bracket.
  43. Install the harness clamp bracket (A), and install the harness clamps (B) on the clamp bracket.
    Fig 29: Harness Clamp Bracket And Harness Clamps With Torque Specifications
    G05459072Courtesy of AMERICAN HONDA MOTOR CO., INC.
  44. Secure the harness cover (C) with the bolt, and connect the A/T clutch pressure control solenoid valve C connector (D).
  45. Secure the harness cover with the bolt, and connect the A/T clutch pressure control solenoid valve A connector (A), the A/T clutch pressure control solenoid valve B connector (B), and the 4th clutch transmission fluid pressure switch connector (C).
    Fig 30: Harness Cover, Connectors, And Bolts With Torque Specifications
    G05459073Courtesy of AMERICAN HONDA MOTOR CO., INC.
  46. Apply molybdenum grease to the hole in the bushing (A) in the shift cable end (B). Attach the shift cable end to the control lever (C), then insert the control pin (D) into the control lever hole through the shift cable end, and secure the control pin with the spring clip/washer (E).
    Fig 31: Shift Cable End, Control Lever And Control Pin With Torque Specifications
    G05459074Courtesy of AMERICAN HONDA MOTOR CO., INC.
  47. Secure the shift cable bracket (F) with the nuts.
  48. Connect the solenoid harness connector (A).
    Fig 32: Solenoid Harness Connector And Hose Clamps With Torque Specifications
    G05459075Courtesy of AMERICAN HONDA MOTOR CO., INC.
  49. Install the starter cables (B), and install the harness clamps (C) on the clamp bracket (D).
  50. Secure the radiator hose clamp (E) with the bolt.
  51. Secure the vacuum line (F) with the bolt, and connect the vacuum hose (G) to the vacuum line.
  52. Insert the power steering pump outlet line (A) with a new O-ring (B) to the pump (C), and install the hose (D) in its clamp (E).
    Fig 33: Power Steering Pump Outlet Line, O-Ring, Pump And Hose With Torque Specifications
    G05459076Courtesy of AMERICAN HONDA MOTOR CO., INC.
  53. Refill the power steering fluid reservoir with fluid to the upper level line.
  54. Install the strut brace (A).
    Fig 34: Strut Brace With Torque Specifications
    G05459077Courtesy of AMERICAN HONDA MOTOR CO., INC.
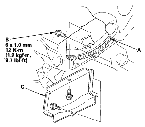
  55. Install the two 6.0 mm bolts, and install the harness clamp (B) on its clamp bracket.
  56. Install the under-hood fuse/relay box.
    Fig 35: Identifying Under-Hood Fuse/Relay Box
    G05459078Courtesy of AMERICAN HONDA MOTOR CO., INC.
  57. Refill the transmission with ATF (see step 7 on ATF REPLACEMENT  ).
  58. Install the battery base.
  59. Install the intake air duct (see THROTTLE BODY REMOVAL/INSTALLATION ) and the air cleaner assembly (see THROTTLE BODY CLEANING ).
  60. Install the battery tray and the battery, then secure the battery with its hold-down bracket.
  61. Connect the steering joint to the steering gearbox pinion shaft (A) by aligning the reference mark (B), and remove the wire (C) from the joint yoke (D).
    Fig 36: Steering Gearbox Pinion Shaft, Reference Mark, Wire And Joint Yoke With Torque Specifications
    G05459079Courtesy of AMERICAN HONDA MOTOR CO., INC.
  62. Install the steering joint cover (E).
  63. Remove the steering wheel (see STEERING WHEEL REMOVAL ).
  64. Center the cable reel and reinstall the steering wheel (see STEERING WHEEL INSTALLATION ).
  65. Install the splash shield.
    Fig 37: Splash Shield With Torque Specifications
    G05459080Courtesy of AMERICAN HONDA MOTOR CO., INC.
  66. Install the engine undercover.
    Fig 38: Engine Undercover With Torque Specifications
    G05459081Courtesy of AMERICAN HONDA MOTOR CO., INC.
  67. Install the covers in the order presented; the engine cover (A), the front bulkhead cover (B), the right fender trim (C), the right rear engine compartment cover (D), the right side engine compartment cover (E), the left fender trim (F), the left rear engine compartment cover (G), and the left side engine compartment cover (H).
    Fig 39: Identifying Engine Cover, Front Bulkhead Cover, Right Fender Trim And Rear Engine Compartment Cover
    G05459082Courtesy of AMERICAN HONDA MOTOR CO., INC.
  68. Reinstall the hood support struts to the proper locations on both sides of the hood.
  69. Set the parking brake. Start the engine, and shift the transmission through all gears three times.
  70. Start the engine, and run it fast idle, then turn the steering wheel from lock-to-lock several times to bleed air from the system.
  71. Check the shift lever operation, the A/T gear position indicator operation, and the shift cable adjustment.
  72. Check and adjust the front wheel alignment (see WHEEL ALIGNMENT ).
  73. Start the engine in P or N, and warm it up to normal operating temperature (the radiator fan comes on). Turn off the engine, and check the ATF level (see ATF LEVEL CHECK  ).
  74. Do the road test (see ROAD TEST  ).
  75. Enter the anti-theft codes for the audio system and the navigation system (if equipped). Set the clock (on vehicles without navigation).