lemon-mirror:
Home >> Acura >> 2007 >> TL Base >> Repair and Diagnosis >> Transmission >> Automatic Trans >> Automatic Transmission >> Transmission Removal

Transmission Removal

Special Tools Required 

NOTE:
  • Use fender covers to avoid damaging painted surfaces.
  • Special tool Reds engine support hanger AAR-T-12566 must be used with the side engine mount installed.
  1. Make sure, you have the anti-theft codes for the audio system and the navigation system (if equipped).
  2. Disconnect the support strut from both sides of the pivot ball (bolted to the hood), Secure the hood (A) in a vertical position. Remove the right side pivot ball and install it into the lower threaded hole (B), then reattach the support strut.
    NOTE: Do not attempt to close the hood with the support strut in the vertical position; it will damage the support strut and the hood.
    Fig 1: Locating Hood Right Side Pivot Ball
    G05459001Courtesy of AMERICAN HONDA MOTOR CO., INC.
  3. Set the wheels in the straight ahead position.
  4. Lock the steering wheel.
  5. Drain the power steering system fluid from the reservoir (see FLUID CHECK/REPLACEMENT ).
  6. Remove the steering joint cover (A).
    Fig 2: Identifying Reference Mark Across Steering Joint And Steering Gearbox Pinion Shaft
    G05459002Courtesy of AMERICAN HONDA MOTOR CO., INC.
  7. Make a reference mark (B) across the steering joint and the steering gearbox pinion shaft. Remove the steering joint bolt (C), and disconnect the steering joint (D) by removing the steering joint toward the steering column. Hold the slider shaft (E) on the column with a peace of wire (F) between the joint yoke (G) on the slider shaft to the joint yoke on the upper shaft (see step 8 on STEERING COLUMN REMOVAL AND INSTALLATION ).
  8. Remove the covers in the order presented; the left side engine compartment cover (A), the left rear engine compartment cover (B), the left fender trim (C), the right side engine compartment cover (D), the right rear engine compartment cover (E), the right fender trim (F), the front bulkhead cover (G), and the engine cover (H).
    Fig 3: Locating Covers
    G05459003Courtesy of AMERICAN HONDA MOTOR CO., INC.
  9. Remove the under-hood fuse/relay box.
    Fig 4: Identifying Under-Hood Fuse/Relay Box
    G05459004Courtesy of AMERICAN HONDA MOTOR CO., INC.
  10. Remove the harness clamp (A) and the two 6.0 mm bolts (B), and remove the strut brace (C).
    Fig 5: Locating Strut Brace
    G05459005Courtesy of AMERICAN HONDA MOTOR CO., INC.
  11. Remove the power steering pump outlet line (A) from the power steering pump, and remove the hose (B) from its clamp (C).
    Fig 6: Locating Power Steering Pump Outlet Line
    G05459006Courtesy of AMERICAN HONDA MOTOR CO., INC.
  12. Raise the vehicle on a lift, and make sure it is securely supported.
  13. Remove the engine under cover.
    Fig 7: Identifying Engine Under Cover
    G05459007Courtesy of AMERICAN HONDA MOTOR CO., INC.
  14. Remove the splash shield.
    Fig 8: Identifying Splash Shield
    G05459008Courtesy of AMERICAN HONDA MOTOR CO., INC.
  15. Remove the drain plug (A), and drain the automatic transmission fluid (ATF).
    Fig 9: Locating Drain Plug With Torque Specifications
    G05459009Courtesy of AMERICAN HONDA MOTOR CO., INC.
  16. Reinstall the drain plug with a new sealing washer (B).
  17. Make sure the ignition switch is in LOCK (0). Disconnect the negative cable from the battery first, then disconnect the positive cable.
  18. Remove the battery hold-down bracket, then remove the battery and the battery tray.
  19. Remove the intake air duct (see THROTTLE BODY REMOVAL/INSTALLATION ) and the air cleaner assembly (see THROTTLE BODY CLEANING ).
  20. Remove the battery base.
  21. Disconnect the starter cables (A) from the starter, and remove the harness clamps (B) from the clamp brackets (C).
    Fig 10: Locating Starter Cables
    G05459010Courtesy of AMERICAN HONDA MOTOR CO., INC.
  22. Disconnect the solenoid harness connector (D).
  23. Remove the bolt securing the radiator hose clamp (E).
  24. Disconnect the vacuum hose (F) from the vacuum line (G), and remove the vacuum line bolt (H).
  25. Remove the nuts securing the shift cable bracket (A).
    Fig 11: Locating Nuts Securing Shift Cable Bracket
    G05459011Courtesy of AMERICAN HONDA MOTOR CO., INC.
  26. Remove the spring clip/washer (B) and the control pin (C), then separate the shift cable end (D) from the control lever (E).
  27. Check the bushing (F) in the shift cable end for proper fit and wear. If the bushing is loose or worn, replace the shift cable (see SHIFT CABLE REPLACEMENT  ).
  28. Disconnect the transmission range switch connector (A), the output shaft (countershaft) speed sensor connector (B), the input shaft (mainshaft) speed sensor connector (C), the 3rd clutch transmission fluid pressure switch connector (D), and the ATF temperature sensor connector (E), and remove the harness clamp (F) from the clamp bracket (G).
    Fig 12: Locating Transmission Range Switch Connector
    G05459012Courtesy of AMERICAN HONDA MOTOR CO., INC.
  29. Disconnect the A/T clutch pressure control solenoid valve A connector (A), the A/T clutch pressure control solenoid valve B connector (B), and the 4th clutch transmission fluid pressure switch connector (C), and remove the harness cover mounting bolt (D).
    Fig 13: Locating A/T Clutch Pressure Control Solenoid Valve A Connector
    G05459013Courtesy of AMERICAN HONDA MOTOR CO., INC.
  30. Disconnect the A/T clutch pressure control solenoid valve C connector (A).
    Fig 14: Locating A/T Clutch Pressure Control Solenoid Valve C Connector
    G05459014Courtesy of AMERICAN HONDA MOTOR CO., INC.
  31. Remove the harness cover mounting bolt, and remove the harness cover (B) from the clamp bracket (C).
  32. Disconnect the 2nd clutch transmission fluid pressure switch connector (A), and remove the vacuum hose and the vacuum line bolt (B).
    Fig 15: Locating 2nd Clutch Transmission Fluid Pressure Switch Connector
    G05459015Courtesy of AMERICAN HONDA MOTOR CO., INC.
  33. Remove the ATF cooler hoses (A) from the ATF cooler lines (B). Turn the ends of the cooler hoses up to prevent ATF from flowing out, then plug the cooler hoses and the lines.
    Fig 16: Locating ATF Cooler Hoses And ATF Cooler Lines
    G05459016Courtesy of AMERICAN HONDA MOTOR CO., INC.
  34. Check for any signs of leakage at the hose joints.
  35. Remove the front A/F sensor connector stay from the engine front cylinder head; use the front A/F sensor connector stay bolt hole to attach the engine balancer bar front arm.
    Fig 17: Identifying Front A/F Sensor Connector Stay
    G05459017Courtesy of AMERICAN HONDA MOTOR CO., INC.
  36. Remove the rear A/F sensor connector stay from the engine rear cylinder head; use the rear A/F sensor connector stay bolt hole to attach the engine balancer bar rear arm.
    Fig 18: Identifying Rear A/F Sensor Connector Stay
    G05459018Courtesy of AMERICAN HONDA MOTOR CO., INC.
  37. Lift and support the engine with the engine support hanger (AAR-T-12566) and the engine balancer bar (VSB02C000019).

    Attach the front arm (A) to the front cylinder head with spacers (B) and the connector bracket bolt (10 x 1.25 mm) (C). Attach the rear arm (D) to the rear cylinder head with the harness clamp bracket bolt (8 x 1.25 mm) (E).

    Fig 19: Supporting Engine With Engine Support Hanger (AAR-T-12566) And Engine Balancer Bar (VSB02C000019)
    G05459019Courtesy of AMERICAN HONDA MOTOR CO., INC.
  38. Remove the ground cable (A), then remove the transmission upper mount (B).
    Fig 20: Locating Ground Cable And Transmission Upper Mount
    G05459020Courtesy of AMERICAN HONDA MOTOR CO., INC.
  39. Remove the front engine mount stop (A), and remove the front engine mount bolt (B).
    Fig 21: Locating Front Engine Mount Stop And Front Engine Mount Bolt
    G05459021Courtesy of AMERICAN HONDA MOTOR CO., INC.
  40. Disconnect the vacuum hose (C).
  41. Insert a 6 mm alien wrench (A) in the top of the ball joint pin (B), and remove the nuts (C), then separate the stabilizer link (D) from the lower arms (E).
    Fig 22: Inserting 6 mm Alien Wrench In Top Of Ball Joint Pin
    G05459022Courtesy of AMERICAN HONDA MOTOR CO., INC.
  42. Remove the cotter pins (F), the castle nuts (G), the damper pinch bolt (H), the self-locking nut (I), the bolt (J), and the damper forks (K), then separate the ball joints from the lower arms (see step 1 on BALL JOINT REMOVAL ).
  43. Remove the cotter pins (L) and the nuts (M), and separate the tie-rod end ball joints (N) from the knuckles (see step 11 on KNUCKLE/HUB/WHEEL BEARING REPLACEMENT ).
  44. Remove exhaust pipe A and its mount.
    Fig 23: Locating Exhaust Pipe
    G05459023Courtesy of AMERICAN HONDA MOTOR CO., INC.
  45. Remove the steering gearbox heat shield (A).
    Fig 24: Locating Steering Gearbox Heat Shield
    G05459024Courtesy of AMERICAN HONDA MOTOR CO., INC.
  46. Remove the power steering fluid hose from its line on the front subframe.
    Fig 25: Identifying Power Steering Fluid Hose
    G05459025Courtesy of AMERICAN HONDA MOTOR CO., INC.
  47. Disconnect the power steering pressure switch connector.
    Fig 26: Identifying Power Steering Pressure Switch Connector
    G05459026Courtesy of AMERICAN HONDA MOTOR CO., INC.
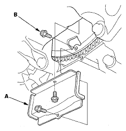
  48. Remove the torque converter cover (A), and remove the drive plate bolts (B) (8) while rotating the crankshaft pulley.
    Fig 27: Locating Torque Converter Cover And Drive Plate Bolts
    G05459027Courtesy of AMERICAN HONDA MOTOR CO., INC.
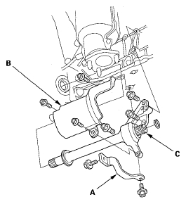
  49. Remove the shift cable bracket from the front subframe.
    Fig 28: Identifying Shift Cable Bracket
    G05459028Courtesy of AMERICAN HONDA MOTOR CO., INC.
  50. Remove the rear engine mount base bracket bolts.
    Fig 29: Identifying Rear Engine Mount Base Bracket Bolts
    G05459029Courtesy of AMERICAN HONDA MOTOR CO., INC.
  51. Remove the transmission lower mount bolt and the nut.
    Fig 30: Identifying Transmission Lower Mount Bolt And Nut
    G05459030Courtesy of AMERICAN HONDA MOTOR CO., INC.
  52. Remove the front subframe middle mount.
    Fig 31: Identifying Front Subframe Middle Mount
    G05459031Courtesy of AMERICAN HONDA MOTOR CO., INC.
  53. Make the appropriate reference lines (A) at both ends of the subframe (B) that line up with the edge (C) of the stiffeners (D).
    Fig 32: Identifying Reference Lines At Both Ends Of Subframe
    G05459032Courtesy of AMERICAN HONDA MOTOR CO., INC.
  54. Attach the front subframe adapter (VSB02C000016) to the subframe by looping the strap over the front of the subframe, then secure the strap.
    Fig 33: Attaching Front Subframe Adapter (VSB02C000016) To Subframe
    G05459033Courtesy of AMERICAN HONDA MOTOR CO., INC.
  55. Raise the jack and line up the slots in the arms with the bolt holes on the corner of the jack base, then tighten the bolts.
  56. Remove the four bolts securing the stiffeners (A) and the four bolts securing the front subframe (B), then lower the front subframe.
    Fig 34: Locating Stiffeners And Front Subframe
    G05459034Courtesy of AMERICAN HONDA MOTOR CO., INC.
  57. Remove the transmission lower mount.
    Fig 35: Identifying Transmission Lower Mount
    G05459035Courtesy of AMERICAN HONDA MOTOR CO., INC.
  58. Pry out the driveshafts from the differential and the intermediate shaft.
  59. Remove the exhaust manifold bracket (A) and the heat shield (B).
    Fig 36: Identifying Exhaust Manifold Bracket And Heat Shield
    G05459036Courtesy of AMERICAN HONDA MOTOR CO., INC.
  60. Remove the intermediate shaft (C).
  61. Coat all precision machined surfaces with clean engine oil, then put plastic bags over the driveshaft ends and the intermediate shaft ends.
  62. Remove the upper transmission housing mounting bolts.
    Fig 37: Identifying Upper Transmission Housing Mounting Bolts
    G05459037Courtesy of AMERICAN HONDA MOTOR CO., INC.
  63. Remove the front mount bracket (A).
    Fig 38: Identifying Front Mount Bracket
    G05459038Courtesy of AMERICAN HONDA MOTOR CO., INC.
  64. Remove the sensor harness clamps (B) from the harness bracket (C).
  65. Remove the transmission housing mounting bolt (D) using a socket 22 mm in length.
  66. Remove the rear transmission housing mounting bolts.
    Fig 39: Identifying Rear Transmission Housing Mounting Bolts
    G05459039Courtesy of AMERICAN HONDA MOTOR CO., INC.
  67. Lower the transmission by loosening the wing nut of the engine support hanger, and tilt the engine just enough for the transmission to clear the side frame.
  68. Place a jack under the transmission.
  69. Remove the lower transmission housing mounting bolts.
    Fig 40: Identifying Lower Transmission Housing Mounting Bolts
    G05459040Courtesy of AMERICAN HONDA MOTOR CO., INC.
  70. Slide the transmission away from the engine to remove it from the vehicle.
  71. Remove the starter, the gasket, and the harness clamp bracket from the transmission.
    Fig 41: Identifying Starter, Gasket, And Harness Clamp Bracket
    G05459041Courtesy of AMERICAN HONDA MOTOR CO., INC.
  72. Remove the torque converter, the O-ring, and the dowel pins.
    Fig 42: Identifying Torque Converter, O-Ring, And Dowel Pins
    G05459042Courtesy of AMERICAN HONDA MOTOR CO., INC.
  73. Inspect the drive plate, and replace if it's damaged.