lemon-mirror:
Home >> Acura >> 2007 >> TSX Automatic >> Repair and Diagnosis >> Electrical >> Body Electrical >> Accessory Power Sockets >> Console Accessory Power Socket Test/Replacement

Console Accessory Power Socket Test/Replacement

  1. Open the center console.
  2. Remove the screw and accessory power socket panel (A).
    Fig 1: Identifying Console Accessory Power Socket Panel Screw
    G05493001Courtesy of AMERICAN HONDA MOTOR CO., INC.
  3. Disconnect the 2P connector (B) from the console accessory power socket (C).
  4. Inspect the connector terminals to be sure they are all making good contact.
    • If the terminals are bent, loose, or corroded, repair them as necessary, and recheck the system.
    • If the terminals look OK, go to step 5.
  5. Turn the ignition switch to ACC (I), and measure the voltage between the No. 1 terminal and body ground. There should be battery voltage.
    • If there is battery voltage, go to step 6.
    • If there is no battery voltage, check for:
      • Blown No. 9 (15 A) or No. 32 (7.5 A) fuse in the under-dash fuse/relay box.
      • Faulty accessory power socket relay.
      • Poor ground (G501).
      • An open in the wire.
  6. Check for continuity between the No. 2 terminal and body ground. There should be continuity.
    • If there is continuity, go to step 7.
    • If there is no continuity, check for:
      • Poor ground (G 506).
      • An open in the wire.
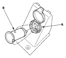
  7. Remove the housing (A) and socket (B).
    Fig 2: Identifying Housing And Socket
    G05493002Courtesy of AMERICAN HONDA MOTOR CO., INC.
  8. Remove the housing (A) from the panel (B).
    Fig 3: Identifying Housing And Panel
    G05493003Courtesy of AMERICAN HONDA MOTOR CO., INC.
  9. Install in the reverse order of removal.