lemon-mirror:
Home >> Acura >> 2007 >> TSX Automatic >> Repair and Diagnosis >> External Pages >> Different car >> Section 1 (Navigation System) >> System Description >> Overview >> System Diagram

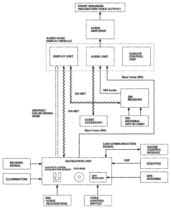
System Diagram

WARNING: This page is about a different car, the 2005 Acura TSX and 2004 Acura TSX. However, it is still accessible from the selected car via links, so may be relevant.
Fig 1: Navigation System Diagram
G05489301