lemon-mirror:
Home >> Acura >> 2009 >> CSX Base, Automatic >> Repair and Diagnosis >> External Pages >> Different car >> Section 17 (Climate Control System) >> Climate Control >> Refrigerant Recovery

Refrigerant Recovery

WARNING: This page is about a different car, the 2011 Acura TL, 2010 Acura TL, and 2009 Acura TL. However, it is still accessible from the selected car via links, so may be relevant.
CAUTION:
  • Air conditioning refrigerant or lubricant vapor can irritate your eyes, nose, or throat
  • Be careful when connecting service equipment
  • Do not breathe refrigerant or vapor
NOTE:
  • If accidental system discharge occurs, ventilate the work area before resuming service
  • Additional health and safety information may be obtained from the refrigerant and lubricant manufacturers
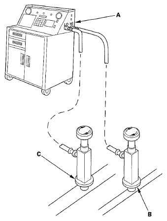
  1. Connect an R-134a refrigerant recovery/recycling/charging station (A) to the high-pressure service port (B) and the low-pressure service port (C), as shown, following the equipment manufacturer's instructions
    Fig 1: Identifying High-Pressure Service Port And Low-Pressure Service Port
    G05988750Courtesy of AMERICAN HONDA MOTOR CO., INC.
  2. Measure the amount of refrigerant oil removed from the A/C system after the recovery process is completed Be sure to put the same amount of new refrigerant oil back into the A/C system before charging