lemon-mirror:
Home >> Acura >> 2009 >> CSX Base, Automatic >> Repair and Diagnosis >> External Pages >> Different car >> Section 76 (Navigation System) >> System Description >> Function Diagram

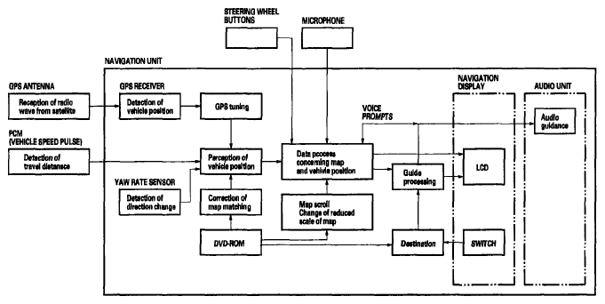
Function Diagram

WARNING: This page is about a different car, the 2008 Acura CSX, 2007 Acura CSX, and 2006 Acura CSX. However, it is still accessible from the selected car via links, so may be relevant.
Fig 1: Navigation Function Diagram
G06268985Courtesy of AMERICAN HONDA MOTOR CO., INC.