lemon-mirror:
Home >> Acura >> 2009 >> RL >> Repair and Diagnosis >> Transmission >> Automatic Trans >> Automatic Transmission >> Transmission Installation

Transmission Installation

Special Tools Required 

These special tools are available through the Acura Tool and Equipment Program 888-424-6857.

NOTE: Use fender covers to avoid damaging painted surfaces.
  1. Clean the ATF cooler (see )ATF COOLER CLEANING .
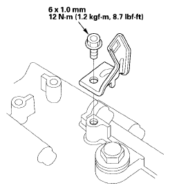
  2. Install the harness clamp bracket.
    Fig 1: Harness Clamp Bracket With Torque Specifications
    G06164539Courtesy of AMERICAN HONDA MOTOR CO., INC.
  3. Install the clamp bracket.
    Fig 2: Clamp Bracket With Torque Specifications
    G06164540Courtesy of AMERICAN HONDA MOTOR CO., INC.
  4. Install the torque converter (A) on the mainshaft (B) with the new O-ring (C).
    Fig 3: Locating Torque Converter, Mainshaft And O-Ring
    G06164541Courtesy of AMERICAN HONDA MOTOR CO., INC.
  5. Install the 14 mm dowel pin (D) and 10 mm dowel pin (E) in the torque converter housing.
  6. Install the transmission lower mount with the new bolts.
    Fig 4: Transmission Lower Mount Bolts With Torque Specifications
    G06164542Courtesy of AMERICAN HONDA MOTOR CO., INC.
  7. Place the transmission on the jack, and raise it to engine level.
  8. Attach the transmission to the engine, and install the lower transmission housing mounting bolts.
    Fig 5: Lower Transmission Housing Mounting Bolts With Torque Specifications
    G06164543Courtesy of AMERICAN HONDA MOTOR CO., INC.
  9. Install the transmission housing mounting bolts.
    Fig 6: Transmission Housing Mounting Bolts With Torque Specifications
    G06164544Courtesy of AMERICAN HONDA MOTOR CO., INC.
  10. Install the upper transmission housing mounting bolts.
    Fig 7: Upper Transmission Housing Mounting Bolts With Torque Specifications
    G06164545Courtesy of AMERICAN HONDA MOTOR CO., INC.
  11. Install the front transmission housing mounting bolt (A) with a socket 22 mm long and a torque wrench.
    Fig 8: Front Transmission Housing Mounting Bolt With Torque Specifications
    G06164546Courtesy of AMERICAN HONDA MOTOR CO., INC.
  12. Install the front mount bracket (B) with the new mounting bolts.
  13. Install the new set ring (A) on the intermediate shaft (B).
    Fig 9: Set Ring And Intermediate Shaft With Torque Specifications
    G06164547Courtesy of AMERICAN HONDA MOTOR CO., INC.
  14. Clean the areas where the intermediate shaft contacts the transmission (differential) with solvent, and dry with compressed air. Apply ATF to the intermediate shaft splines, then install the intermediate shaft; be sure not to allow dust or other foreign particles to enter the transmission.
  15. Install the exhaust manifold bracket (C) and heat shield (D).
  16. Install the new set ring (A) on the left driveshaft (B).
    Fig 10: Locating Set Ring And Left Driveshaft
    G06164548Courtesy of AMERICAN HONDA MOTOR CO., INC.
  17. Clean the areas where the left driveshaft contacts the transmission (differential) with solvent, and dry with compressed air. Then install the left driveshaft; be sure not to allow dust or other foreign particles to enter the transmission. Turn the steering knuckle fully outward, and slide the driveshaft into the differential until you feel its set ring fully engage the side gear.
  18. Apply right driveshaft inboard-joint splines with the recommended grease.
  19. Slide the right driveshaft over the intermediate shaft splines until you feel the driveshaft fully engage the intermediate shaft set ring.
  20. Install the front subframe stop rubbers (A) on the front of the subframe (B), and support the front subframe with the front subframe adapter (VSB02C000016) and a jack, and lift it up to body.
    Fig 11: Locating Front Subframe Stop Rubbers And Subframe Front
    G06164549Courtesy of AMERICAN HONDA MOTOR CO., INC.
  21. Loosely install the new subframe mounting bolts (A), rear stiffener mounting bolts (B), front stiffener mounting bolts (C), and front and rear stiffeners.
    Fig 12: Locating Subframe Mounting Bolts, Rear Stiffener Mounting Bolts, Front Stiffener Mounting Bolts And Front Stiffeners With Torque Specifications
    G06164550Courtesy of AMERICAN HONDA MOTOR CO., INC.
  22. Partially tighten the right rear subframe mounting bolt (A); insert the special tool through the positioning slot (B) on the rear stiffener, through the positioning hole (C) on the subframe, and into the positioning hole (D) on the body, then tighten the subframe mounting bolt.
    Fig 13: Right Rear Subframe Mounting Bolt With Torque Specifications
    G06164551Courtesy of AMERICAN HONDA MOTOR CO., INC.
  23. Partially tighten the left rear subframe mounting bolt in the same manner in step 22.
  24. Partially tighten the right and left front subframe mounting bolts.
  25. Loosen the right rear mounting bolt, then tighten the bolt to the specified torque with the special tool in the positioning hole.
  26. Tighten the left rear mounting bolt to the specified torque with the special tool in the positioning hole.
  27. Tighten the right and left front mounting bolts to the specified torque.
  28. Check that the positioning holes and slot are aligned using the special tool.
  29. Tighten the rear and front stiffener mounting bolts to the specified torque.
  30. Remove the jack and front subframe adapter.
  31. Install the new transmission lower mount bolts.
    Fig 14: Transmission Lower Mount Bolts With Torque Specifications
    G06164552Courtesy of AMERICAN HONDA MOTOR CO., INC.
  32. Attach the torque converter to the drive plate (A) with eight bolts (B). Rotate the crankshaft pulley as necessary to tighten the bolts to 1/2 of the specified torque, then to the final torque, in a crisscross pattern. After tightening the last bolt, check that the crankshaft rotates freely.
    Fig 15: Locating Drive Plate And Bolts With Torque Specifications
    G06164553Courtesy of AMERICAN HONDA MOTOR CO., INC.
  33. Install the torque converter cover (C).
  34. Connect the power steering fluid hose (A) to the line (B) at the right front of the front subframe, and secure the hose with its hose clamp (C).
    Fig 16: Locating Power Steering Fluid Hose, Line And Hose Clamp
    G06164554Courtesy of AMERICAN HONDA MOTOR CO., INC.
  35. Connect the ATF cooler hose (D) to the ATF cooler (E), and secure the hose with the clip (F) (see )ATF COOLER HOSE REPLACEMENT .
  36. Install the steering gearbox heat shield.
    Fig 17: Steering Gearbox Heat Shield With Torque Specifications
    G06164555Courtesy of AMERICAN HONDA MOTOR CO., INC.
  37. Install the dowel pin (A) in the transmission, and install the transfer assembly (B) on the transmission.
    Fig 18: Locating Dowel Pin And Transfer Assembly
    G06164556Courtesy of AMERICAN HONDA MOTOR CO., INC.
  38. Secure the transfer breather tube bracket (A) on the transfer assembly with the bolt, and install the breather tube (B) over the breather pipe (C). If the breather tube was removed from the clamp, install the tube at the dot (D) on the clamp (E).
    Fig 19: Locating Transfer Breather Tube Bracket And Breather Tube
    G06164557Courtesy of AMERICAN HONDA MOTOR CO., INC.
  39. Install the propeller shaft (see PROPELLER SHAFT INSTALLATION ).
  40. Install the propeller shaft (A) to the transfer companion flange (B) by aligning the reference mark (C).
    Fig 20: Aligning Reference Mark Of Propeller Shaft To Transfer Companion Flange With Torque Specifications
    G06164558Courtesy of AMERICAN HONDA MOTOR CO., INC.
  41. Install the exhaust pipe A with the new self-locking nuts and new gaskets (B) (C).
    Fig 21: Locating Exhaust Pipe A, Self-Locking Nuts And Gaskets With Torque Specifications
    G06164559Courtesy of AMERICAN HONDA MOTOR CO., INC.
  42. Install the damper forks (A) with damper pinch bolts, new damper fork bolts, and new self-locking nuts. Attach the knuckle holder (B) to the knuckle, and secure the knuckle holder with the bolt and new nut.
    Fig 22: Inserting 6 mm Allen Wrench In Ball Joint Pin With Torque Specifications
    G06164560Courtesy of AMERICAN HONDA MOTOR CO., INC.
  43. Install the stabilizer links (C) to the lower arms, and install the nuts (D). Insert a 6 mm Allen wrench (E) in the ball joint pin (F), and tighten the nuts.
  44. Install the tie-rod end ball joints (G) to each knuckle with the nuts and new cotter pins (H).
  45. Install the new rear mount bolt, and install the rear mount stop with the new nuts.
    Fig 23: Locating Rear Mount Bolt And Rear Mount Stop Nuts With Torque Specifications
    G06164561Courtesy of AMERICAN HONDA MOTOR CO., INC.
  46. Install the new front mount bolt, and install the front mount stop (A) and vacuum hose clamp (B).
    Fig 24: Locating Front Mount Bolt, Front Mount Stop And Vacuum Hose Clamp With Torque Specifications
    G06164562Courtesy of AMERICAN HONDA MOTOR CO., INC.
  47. Remove the engine support hanger and engine hanger balancer bar.
  48. Install the connector bracket on the engine front cylinder head.
    Fig 25: Connector Bracket On Engine Front Cylinder Head With Torque Specifications
    G06164563Courtesy of AMERICAN HONDA MOTOR CO., INC.
  49. Install the clamp brackets on the engine rear cylinder head, and connect the vacuum tube and solenoid connector.
    Fig 26: Clamp Brackets On Engine Rear Cylinder Head, Vacuum Tube And Solenoid Connector With Torque Specifications
    G06164564Courtesy of AMERICAN HONDA MOTOR CO., INC.
  50. Install the shift cable bracket on then steering gearbox stiffener.
    Fig 27: Shift Cable Bracket On Then Steering Gearbox Stiffener With Torque Specifications
    G06164565Courtesy of AMERICAN HONDA MOTOR CO., INC.
  51. Connect the power steering angle sensor connector.
    Fig 28: Identifying Power Steering Angle Sensor Connector
    G06164566Courtesy of AMERICAN HONDA MOTOR CO., INC.
  52. Connect the 2nd clutch transmission fluid pressure switch connector (A), and secure the vacuum line with the bolt.
    Fig 29: Locating 2nd Clutch Transmission Fluid Pressure Switch Connector And Vacuum Line Bolt With Torque Specifications
    G06164567Courtesy of AMERICAN HONDA MOTOR CO., INC.
  53. Connect the ATF cooler hoses (A) to the ATF cooler lines (B), and secure the hoses with the clips (C) (see )ATF COOLER HOSE REPLACEMENT .
    Fig 30: Locating ATF Cooler Hoses, ATF Cooler Lines And Hose Clips
    G06164568Courtesy of AMERICAN HONDA MOTOR CO., INC.
  54. Connect the 3rd clutch transmission fluid pressure switch connector (A), output shaft (countershaft) speed sensor connector (B), and ATF temperature sensor connector (C), and install the harness clamp (D) on its bracket (E).
    Fig 31: Locating 3rd Clutch Transmission Fluid Pressure Switch Connector And Output Shaft (Countershaft) Speed Sensor Connector
    G06164569Courtesy of AMERICAN HONDA MOTOR CO., INC.
  55. Connect the transmission range switch connector (A) and input shaft (mainshaft) speed sensor connector (B).
    Fig 32: Locating Transmission Range Switch Connector And Input Shaft (Mainshaft) Speed Sensor Connector With Torque Specifications
    G06164570Courtesy of AMERICAN HONDA MOTOR CO., INC.
  56. Install the transmission ground cable (C).
  57. Install the harness clamp bracket (A), and install the harness clamps (B) on the clamp brackets (C).
    Fig 33: Locating Harness Clamp Bracket, Harness Clamps And Clamp Brackets With Torque Specifications
    G06164571Courtesy of AMERICAN HONDA MOTOR CO., INC.
  58. Secure the harness cover (D) with the bolt, and connect A/T clutch pressure control solenoid valve C connector (E).
  59. Install the harness cover (A) on its bracket (B), and secure the with the bolt.
    Fig 34: Locating Harness Cover, Bolt And A/T Clutch Pressure Control Solenoid Valve C Connector With Torque Specifications
    G06164572Courtesy of AMERICAN HONDA MOTOR CO., INC.
  60. Connect the shift solenoid harness connector (C), A/T clutch pressure control solenoid valve A connector (D), A/T clutch pressure control solenoid valve B connector (E), and 4th clutch transmission fluid pressure switch connector (F).
  61. Apply molybdenum grease to the hole in the bushing (A) in the shift cable end (B).
    Fig 35: Locating Bushing Hole And Shift Cable End With Torque Specifications
    G06164573Courtesy of AMERICAN HONDA MOTOR CO., INC.
  62. Attach the shift cable end to the control lever (C), then insert the control pin (D) into the control lever hole through the shift cable end, and secure the control pin with the spring clip/washer (E).
  63. Secure the shift cable bracket (F) with the nuts.
  64. Install the starter (A) and the new gasket (B); install the lower bolt (C) through the sensor harness clamp bracket (D).
    Fig 36: Locating Starter, Gasket, Lower Bolt And Sensor Harness Clamp Bracket With Torque Specifications
    G06164574Courtesy of AMERICAN HONDA MOTOR CO., INC.
  65. Secure the vacuum line (A) with the bolt, and connect the vacuum hose (B) to the vacuum line.
    Fig 37: Locating Vacuum Line, Bolt And Vacuum Hose With Torque Specifications
    G06164575Courtesy of AMERICAN HONDA MOTOR CO., INC.
  66. Install the starter cables (C), and install the harness clamp (D) on the clamp bracket (E).
  67. Secure the radiator hose clamp (F) with the bolt.
  68. Install the power steering pump outlet line (A) with the new O-ring (B) to the pump.
    Fig 38: Locating Power Steering Pump Outlet Line And O-Ring With Torque Specifications
    G06164576Courtesy of AMERICAN HONDA MOTOR CO., INC.
  69. Secure the power steering fluid hose clamp with the bolt on its clamp bracket (C).
  70. Connect the power steering pressure switch connector.
    Fig 39: Locating Power Steering Pressure Switch Connector
    G06164577Courtesy of AMERICAN HONDA MOTOR CO., INC.
  71. Install the strut brace (A) on the body, and secure it with nuts (B) and bolts (C).
    Fig 40: Locating Strut Brace, Nuts And Bolts With Torque Specifications
    G06164578Courtesy of AMERICAN HONDA MOTOR CO., INC.
  72. Connect the breather tube end (D), and install the vacuum hose (E) on the strut race.
  73. Install the under-hood fuse/relay box (F) on its bracket, and secure it with the bolts (G).
  74. Connect the steering joint (see STEERING COLUMN REMOVAL AND INSTALLATION ).
  75. Remove the steering wheel (see STEERING WHEEL REMOVAL ).
  76. Center the SRS cable reel, and install the steering wheel (see STEERING WHEEL INSTALLATION ).
  77. Refill the power steering fluid reservoir with fluid upper level line (see FLUID CHECK/REPLACEMENT ).
  78. Refill the transmission with ATF (see ATF REPLACEMENT ).
  79. Install the battery base.
  80. Install the air cleaner (see THROTTLE BODY CLEANING ).
  81. Do the battery installation procedure (see BATTERY REMOVAL AND INSTALLATION ).
  82. Install the covers in the following order; cowl cover upper trim (A), left upper fender trim (B), right upper fender trim (C), upper grille cover (D), battery trim (E), and intake manifold cover (F).
    Fig 41: Locating Cowl Cover Upper Trim, Left Upper Fender Trim, Right Upper Fender Trim And Upper Grille Cover
    G06164579Courtesy of AMERICAN HONDA MOTOR CO., INC.
  83. Reinstall the hood support struts to the upper location on both sides of the hood.
  84. Install the passenger's side windshield wiper arm (see WIPER MOTOR REPLACEMENT ).
  85. Install the splash shield.
  86. Install the wheels.
  87. Set the parking brake. Start the engine, and shift the transmission through all positions three times. Check the shift lever operation, A/T gear position indicator operation, and shift cable adjustment.
  88. Check and adjust the front wheel alignment (see WHEEL ALIGNMENT ).
  89. Start the engine in P or N position, and warm it up to normal operating temperature (the radiator fan comes on).
  90. Turn off the engine, and check the ATF level (see )ATF LEVEL CHECK .
  91. Do the road test (see )ROAD TEST .