lemon-mirror:
Home >> Acura >> 2010 >> MDX >> Repair and Diagnosis >> Electrical >> Component Locations >> Electrical Component Locator >> Component Location Graphics

Component Location Graphics

NOTE: Figures may show multiple component locations. Refer to appropriate table for proper figure references.
Fig 1: Auxiliary Underhood Fuse/Relay Box
G00478615Courtesy of AMERICAN HONDA MOTOR CO., INC.
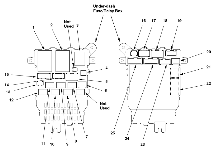
Fig 2: Underdash Fuse/Relay Box
G00478614Courtesy of AMERICAN HONDA MOTOR CO., INC.
Fig 3: Rear Fuse/Relay Box
G00478616Courtesy of AMERICAN HONDA MOTOR CO., INC.
Fig 4: Behind Driver's Door Panel
G00478497Courtesy of AMERICAN HONDA MOTOR CO., INC.
Fig 5: Behind Driver's Door Panel
G00478498Courtesy of AMERICAN HONDA MOTOR CO., INC.
Fig 6: Behind Front Passenger's Door Panel
G00478499Courtesy of AMERICAN HONDA MOTOR CO., INC.
Fig 7: Behind Front Passenger's Door
G00478500Courtesy of AMERICAN HONDA MOTOR CO., INC.
Fig 8: Left Kick Panel
G00478431Courtesy of AMERICAN HONDA MOTOR CO., INC.
Fig 9: Left Kick Panel
G00478432Courtesy of AMERICAN HONDA MOTOR CO., INC.
Fig 10: Under Front Passenger's Seat
G00478517Courtesy of AMERICAN HONDA MOTOR CO., INC.
Fig 11: Behind Left Side Of Front Bumper (Right Similar)
G00478563Courtesy of AMERICAN HONDA MOTOR CO., INC.
Fig 12: Left Side Of Front Passenger's Seat Back
G00478521Courtesy of AMERICAN HONDA MOTOR CO., INC.
Fig 13: Left Side Of Dash
G00478423Courtesy of AMERICAN HONDA MOTOR CO., INC.
Fig 14: Behind Middle Of Rear Bumper
G00478560Courtesy of AMERICAN HONDA MOTOR CO., INC.
Fig 15: Behind Right Kick Panel
G00478487Courtesy of AMERICAN HONDA MOTOR CO., INC.
Fig 16: Under Left Rear Fenderwell Liner (Right Similar)
G00478602Courtesy of AMERICAN HONDA MOTOR CO., INC.
Fig 17: Under Left Rear Fenderwell (Right Similar)
G00478603Courtesy of AMERICAN HONDA MOTOR CO., INC.
Fig 18: Behind Right Side Of Front Bumper
G00478581Courtesy of AMERICAN HONDA MOTOR CO., INC.
Fig 19: Behind Right Side Of Front Bumper
G00478580Courtesy of AMERICAN HONDA MOTOR CO., INC.
Fig 20: Behind Right Side Of Front Bumper
G00478579Courtesy of AMERICAN HONDA MOTOR CO., INC.
Fig 21: Center Of Cargo Area
G00478549Courtesy of AMERICAN HONDA MOTOR CO., INC.
Fig 22: Center Of Tailgate
G00478553Courtesy of AMERICAN HONDA MOTOR CO., INC.
Fig 23: Left Side Of Cargo Area
G00478544Courtesy of AMERICAN HONDA MOTOR CO., INC.
Fig 24: Driver's Door
G00478494Courtesy of AMERICAN HONDA MOTOR CO., INC.
Fig 25: Left Power Mirror Housing (Right Similar)
G00478492Courtesy of AMERICAN HONDA MOTOR CO., INC.
Fig 26: Middle Of Engine
G00478388Courtesy of AMERICAN HONDA MOTOR CO., INC.
Fig 27: Rear Of Engine
G00478588Courtesy of AMERICAN HONDA MOTOR CO., INC.
Fig 28: Under Left Side Of Floor
G00478505Courtesy of AMERICAN HONDA MOTOR CO., INC.
Fig 29: Under Right Side Of Floor
G00478507Courtesy of AMERICAN HONDA MOTOR CO., INC.
Fig 30: Center Front Of Roof
G00478530Courtesy of AMERICAN HONDA MOTOR CO., INC.
Fig 31: Middle Of Dash
G00478460Courtesy of AMERICAN HONDA MOTOR CO., INC.
Fig 32: Behind Left Side Of Front Bumper
G00478564Courtesy of AMERICAN HONDA MOTOR CO., INC.
Fig 33: Front Passenger's Door
G00478495Courtesy of AMERICAN HONDA MOTOR CO., INC.
Fig 34: Top Of Fuel Tank
G00478535Courtesy of AMERICAN HONDA MOTOR CO., INC.
Fig 35: Under Left Side Of Vehicle
G00478591Courtesy of AMERICAN HONDA MOTOR CO., INC.
Fig 36: Steering Wheel
G00478422Courtesy of AMERICAN HONDA MOTOR CO., INC.
Fig 37: Steering Column
G00478429Courtesy of AMERICAN HONDA MOTOR CO., INC.
Fig 38: Left "B" Pillar (Right Similar)
G00478504Courtesy of AMERICAN HONDA MOTOR CO., INC.
Fig 39: Left "B" Pillar
G00478493Courtesy of AMERICAN HONDA MOTOR CO., INC.
Fig 40: Left "C" Pillar (Right Similar)
G00478533Courtesy of AMERICAN HONDA MOTOR CO., INC.
Fig 41: Left "C" Pillar (Right Similar)
G00478534Courtesy of AMERICAN HONDA MOTOR CO., INC.
Fig 42: Left "D" Pillar
G00478537Courtesy of AMERICAN HONDA MOTOR CO., INC.
Fig 43: Left Side Of Engine Compartment
G00478397Courtesy of AMERICAN HONDA MOTOR CO., INC.
Fig 44: Left Side Of Engine Compartment
G00478403Courtesy of AMERICAN HONDA MOTOR CO., INC.
Fig 45: Left Side Of Engine Compartment
G00478405Courtesy of AMERICAN HONDA MOTOR CO., INC.
Fig 46: Left Side Of Engine Compartment
G00478402Courtesy of AMERICAN HONDA MOTOR CO., INC.
Fig 47: Left Front Of Roof
G00478526Courtesy of AMERICAN HONDA MOTOR CO., INC.
Fig 48: Left Front Suspension (Right Similar)
G00478567Courtesy of AMERICAN HONDA MOTOR CO., INC.
Fig 49: Left Rear Door (Right Similar)
G00478501Courtesy of AMERICAN HONDA MOTOR CO., INC.
Fig 50: Left Side Of Cargo Area
G00478545Courtesy of AMERICAN HONDA MOTOR CO., INC.
Fig 51: Left Side Of Cargo Area
G00478543Courtesy of AMERICAN HONDA MOTOR CO., INC.
Fig 52: Left Side Of Cargo Area
G00478540Courtesy of AMERICAN HONDA MOTOR CO., INC.
Fig 53: Left Side Of Cargo Area
G00478539Courtesy of AMERICAN HONDA MOTOR CO., INC.
Fig 54: Left Side Of Cargo Area
G00478541Courtesy of AMERICAN HONDA MOTOR CO., INC.
Fig 55: Under Center Console
G00478473Courtesy of AMERICAN HONDA MOTOR CO., INC.
Fig 56: Left Side Of Cargo Area (Acura Accessory)
G00478608Courtesy of AMERICAN HONDA MOTOR CO., INC.
Fig 57: Left Side Of Cargo Area
G00478546Courtesy of AMERICAN HONDA MOTOR CO., INC.
Fig 58: Left Side Of Cargo Area
G00478548Courtesy of AMERICAN HONDA MOTOR CO., INC.
Fig 59: Left "D" Pillar
G00478538Courtesy of AMERICAN HONDA MOTOR CO., INC.
Fig 60: Left "A" Pillar
G00478417Courtesy of AMERICAN HONDA MOTOR CO., INC.
Fig 61: Left Side Of Dash
G00478418Courtesy of AMERICAN HONDA MOTOR CO., INC.
Fig 62: Under Left Side Of Dash
G00478450Courtesy of AMERICAN HONDA MOTOR CO., INC.
Fig 63: Left Side Of Driver's Seat Back
G00478515Courtesy of AMERICAN HONDA MOTOR CO., INC.
Fig 64: Left Side Of Engine
G00478396Courtesy of AMERICAN HONDA MOTOR CO., INC.
Fig 65: Transmission Housing
G00478407Courtesy of AMERICAN HONDA MOTOR CO., INC.
Fig 66: Left Side Of Engine Compartment
G00478401Courtesy of AMERICAN HONDA MOTOR CO., INC.
Fig 67: Left Side Of Engine
G00478399Courtesy of AMERICAN HONDA MOTOR CO., INC.
Fig 68: Left Side Of Engine Compartment
G00478406Courtesy of AMERICAN HONDA MOTOR CO., INC.
Fig 69: Left Side Of Engine Compartment
G00478414Courtesy of AMERICAN HONDA MOTOR CO., INC.
Fig 70: Under Left Side Of Engine Compartment
G00478572Courtesy of AMERICAN HONDA MOTOR CO., INC.
Fig 71: Under Left Side Of Engine Compartment
G00478571Courtesy of AMERICAN HONDA MOTOR CO., INC.
Fig 72: Left Side Of Rear Subframe
G00478592Courtesy of AMERICAN HONDA MOTOR CO., INC.
Fig 73: Left Side Of Rear Subframe (Sport)
G00478593Courtesy of AMERICAN HONDA MOTOR CO., INC.
Fig 74: Left Side Of Tailgate (Right Similar)
G00478550Courtesy of AMERICAN HONDA MOTOR CO., INC.
Fig 75: Middle Of Dash
G00478462Courtesy of AMERICAN HONDA MOTOR CO., INC.
Fig 76: Middle Of Dash
G00478476Courtesy of AMERICAN HONDA MOTOR CO., INC.
Fig 77: Middle Of Engine
G00478391Courtesy of AMERICAN HONDA MOTOR CO., INC.
Fig 78: Middle Of Engine
G00478389Courtesy of AMERICAN HONDA MOTOR CO., INC.
Fig 79: Top Of Engine
G00478393Courtesy of AMERICAN HONDA MOTOR CO., INC.
Fig 80: Middle Of Engine
G00478390Courtesy of AMERICAN HONDA MOTOR CO., INC.
Fig 81: Under Middle Of Floor
G00478506Courtesy of AMERICAN HONDA MOTOR CO., INC.
Fig 82: Behind Left Side Rear Bumper
G00478561Courtesy of AMERICAN HONDA MOTOR CO., INC.
Fig 83: Right "B" Pillar
G00478508Courtesy of AMERICAN HONDA MOTOR CO., INC.
Fig 84: Left "B" Pillar (Right Similar)
G00478503Courtesy of AMERICAN HONDA MOTOR CO., INC.
Fig 85: Left "C" Pillar (Right Similar)
G00478536Courtesy of AMERICAN HONDA MOTOR CO., INC.
Fig 86: Right "D" Pillar
G00478555Courtesy of AMERICAN HONDA MOTOR CO., INC.
Fig 87: Right Side Of Engine Compartment
G00478378Courtesy of AMERICAN HONDA MOTOR CO., INC.
Fig 88: Right Side Of Engine Compartment
G00478387Courtesy of AMERICAN HONDA MOTOR CO., INC.
Fig 89: Right Front Of Engine Compartment
G00478386Courtesy of AMERICAN HONDA MOTOR CO., INC.
Fig 90: Right Rear Door
G00478502Courtesy of AMERICAN HONDA MOTOR CO., INC.
Fig 91: Right Side Of Cargo Area
G00478558Courtesy of AMERICAN HONDA MOTOR CO., INC.
Fig 92: Right Side Of Cargo Area
G00478557Courtesy of AMERICAN HONDA MOTOR CO., INC.
Fig 93: Right Side Of Cargo Area (USA: Base; Canada)
G00478556Courtesy of AMERICAN HONDA MOTOR CO., INC.
Fig 94: Right "A" Pillar
G00478484Courtesy of AMERICAN HONDA MOTOR CO., INC.
Fig 95: Front Of Engine
G00478381Courtesy of AMERICAN HONDA MOTOR CO., INC.
Fig 96: Front Of Engine
G00478382Courtesy of AMERICAN HONDA MOTOR CO., INC.
Fig 97: Right Side Of Engine Compartment
G00478385Courtesy of AMERICAN HONDA MOTOR CO., INC.
Fig 98: Right Side Of Engine Compartment
G00478383Courtesy of AMERICAN HONDA MOTOR CO., INC.
Fig 99: Under Right Side Of Engine
G00478583Courtesy of AMERICAN HONDA MOTOR CO., INC.
Fig 100: Right Side Of Engine Compartment
G00478375Courtesy of AMERICAN HONDA MOTOR CO., INC.
Fig 101: Right Side Of Engine Compartment
G00478582Courtesy of AMERICAN HONDA MOTOR CO., INC.
Fig 102: Right Side Of Rear Differential
G00478596Courtesy of AMERICAN HONDA MOTOR CO., INC.
Fig 103: Right Side Of Rear Subframe
G00478597Courtesy of AMERICAN HONDA MOTOR CO., INC.
Fig 104: Right Rear Subframe (Sport)
G00478598Courtesy of AMERICAN HONDA MOTOR CO., INC.
Fig 105: Right Side Of Tailgate
G00478554Courtesy of AMERICAN HONDA MOTOR CO., INC.
Fig 106: Steering Wheel
G00478421Courtesy of AMERICAN HONDA MOTOR CO., INC.
Fig 107: Left Side Of Engine
G00478400Courtesy of AMERICAN HONDA MOTOR CO., INC.
Fig 108: Transmission Housing
G00478408Courtesy of AMERICAN HONDA MOTOR CO., INC.
Fig 109: Transmission Housing
G00478409Courtesy of AMERICAN HONDA MOTOR CO., INC.
Fig 110: Under Left Side Of Dash
G00478441Courtesy of AMERICAN HONDA MOTOR CO., INC.
Fig 111: Under Center Console
G00478467Courtesy of AMERICAN HONDA MOTOR CO., INC.
Fig 112: Under Left Side Of Dash
G00478440Courtesy of AMERICAN HONDA MOTOR CO., INC.
Fig 113: Under Driver's Seat
G00478509Courtesy of AMERICAN HONDA MOTOR CO., INC.
Fig 114: Under Driver's Seat
G00478513Courtesy of AMERICAN HONDA MOTOR CO., INC.
Fig 115: Under Driver's Seat
G00478512Courtesy of AMERICAN HONDA MOTOR CO., INC.
Fig 116: Behind Right Kick Panel
G00478490Courtesy of AMERICAN HONDA MOTOR CO., INC.
Fig 117: Under Front Passenger's Seat
G00478519Courtesy of AMERICAN HONDA MOTOR CO., INC.
Fig 118: Under Front Passenger's Seat
G00478520Courtesy of AMERICAN HONDA MOTOR CO., INC.
Fig 119: Under Left Side Of Engine Compartment
G00478569Courtesy of AMERICAN HONDA MOTOR CO., INC.
Fig 120: Under Left Side Of Engine Compartment
G00478570Courtesy of AMERICAN HONDA MOTOR CO., INC.
Fig 121: Under Left Rear Of Vehicle
G00478601Courtesy of AMERICAN HONDA MOTOR CO., INC.
Fig 122: Left Side Of Dash
G00478415Courtesy of AMERICAN HONDA MOTOR CO., INC.
Fig 123: Under Left Side Of Dash
G00478448Courtesy of AMERICAN HONDA MOTOR CO., INC.
Fig 124: Left Side Of Dash
G00478445Courtesy of AMERICAN HONDA MOTOR CO., INC.
Fig 125: Under Left Side Of Dash
G00478451Courtesy of AMERICAN HONDA MOTOR CO., INC.
Fig 126: Left Side Of Dash
G00478443Courtesy of AMERICAN HONDA MOTOR CO., INC.
Fig 127: Left Side Of Dash
G00478425Courtesy of AMERICAN HONDA MOTOR CO., INC.
Fig 128: Left Side Of Dash
G00478438Courtesy of AMERICAN HONDA MOTOR CO., INC.
Fig 129: Left Side Of Dash
G00478437Courtesy of AMERICAN HONDA MOTOR CO., INC.
Fig 130: Left Side Of Dash
G00478426Courtesy of AMERICAN HONDA MOTOR CO., INC.
Fig 131: Under Left Side Of Dash
G00478424Courtesy of AMERICAN HONDA MOTOR CO., INC.
Fig 132: Middle Of Dash
G00478454Courtesy of AMERICAN HONDA MOTOR CO., INC.
Fig 133: Middle Of Dash
G00478470Courtesy of AMERICAN HONDA MOTOR CO., INC.
Fig 134: Under Middle Of Dash
G00478474Courtesy of AMERICAN HONDA MOTOR CO., INC.
Fig 135: Middle Of Dash
G00478472Courtesy of AMERICAN HONDA MOTOR CO., INC.
Fig 136: Under Right Side Of Dash
G00478475Courtesy of AMERICAN HONDA MOTOR CO., INC.
Fig 137: Behind Glove Box
G00478478Courtesy of AMERICAN HONDA MOTOR CO., INC.
Fig 138: Behind Center Console Rear Cover
G00478466Courtesy of AMERICAN HONDA MOTOR CO., INC.
Fig 139: Under Right Side Of Dash
G00478485Courtesy of AMERICAN HONDA MOTOR CO., INC.
Fig 140: Behind Glove Box
G00478481Courtesy of AMERICAN HONDA MOTOR CO., INC.
Fig 141: Under Middle Of Dash
G00478463Courtesy of AMERICAN HONDA MOTOR CO., INC.
Fig 142: Behind Glove Box
G00478480Courtesy of AMERICAN HONDA MOTOR CO., INC.
Fig 143: Under Right Side Of Engine Compartment
G00478585Courtesy of AMERICAN HONDA MOTOR CO., INC.
Fig 144: Under Right Side Of Engine Compartment
G00478584Courtesy of AMERICAN HONDA MOTOR CO., INC.
Fig 145: Under Right Side Of Engine
G00478586Courtesy of AMERICAN HONDA MOTOR CO., INC.
Fig 146: Under Right Side Of Engine
G00478587Courtesy of AMERICAN HONDA MOTOR CO., INC.
Fig 147: Left Headlight Assembly (Right Similar)
G00478404Courtesy of AMERICAN HONDA MOTOR CO., INC.
Fig 148: Right Side Of Driver's Seat Back
G00478516Courtesy of AMERICAN HONDA MOTOR CO., INC.
Fig 149: Behind Left Front Wheel (Right Similar)
G00478566Courtesy of AMERICAN HONDA MOTOR CO., INC.
Fig 150: Left Side Of Front Passenger's Seat Back
G00478522Courtesy of AMERICAN HONDA MOTOR CO., INC.
Fig 151: Steering Column
G00478430Courtesy of AMERICAN HONDA MOTOR CO., INC.
Fig 152: Left Kick Panel
G00478434Courtesy of AMERICAN HONDA MOTOR CO., INC.
Fig 153: Right Side Of Engine Compartment
G00478376Courtesy of AMERICAN HONDA MOTOR CO., INC.
Fig 154: Right Side Of Engine Compartment
G00478379Courtesy of AMERICAN HONDA MOTOR CO., INC.
Fig 155: Under-Hood Fuse/Relay Box
G00478612Courtesy of AMERICAN HONDA MOTOR CO., INC.
Fig 156: Underhood Fuse/Relay Box (Relay Block)
G00478613Courtesy of AMERICAN HONDA MOTOR CO., INC.
Fig 157: Right Side Of Engine
G00478380Courtesy of AMERICAN HONDA MOTOR CO., INC.
Fig 158: Right Side Of Engine
G00478384Courtesy of AMERICAN HONDA MOTOR CO., INC.
Fig 159: Middle Of Engine
G00478392Courtesy of AMERICAN HONDA MOTOR CO., INC.
Fig 160: Middle Of Engine
G00478394Courtesy of AMERICAN HONDA MOTOR CO., INC.
Fig 161: Front Of Engine Compartment
G00478395Courtesy of AMERICAN HONDA MOTOR CO., INC.
Fig 162: Transmission Housing
G00478410Courtesy of AMERICAN HONDA MOTOR CO., INC.
Fig 163: Transmission Housing
G00478411Courtesy of AMERICAN HONDA MOTOR CO., INC.
Fig 164: Left Side Of Engine Compartment
G00478412Courtesy of AMERICAN HONDA MOTOR CO., INC.
Fig 165: Transmission Housing
G00478413Courtesy of AMERICAN HONDA MOTOR CO., INC.
Fig 166: Left Kick Panel
G00478433Courtesy of AMERICAN HONDA MOTOR CO., INC.
Fig 167: Behind Left Kick Panel
G00478435Courtesy of AMERICAN HONDA MOTOR CO., INC.
Fig 168: Left Side Of Dash
G00478436Courtesy of AMERICAN HONDA MOTOR CO., INC.
Fig 169: Left Side Of Dash
G00478439Courtesy of AMERICAN HONDA MOTOR CO., INC.
Fig 170: Left Side Of Dash
G00478442Courtesy of AMERICAN HONDA MOTOR CO., INC.
Fig 171: Left Side Of Dash
G00478444Courtesy of AMERICAN HONDA MOTOR CO., INC.
Fig 172: Under Left Side Of Dash
G00478446Courtesy of AMERICAN HONDA MOTOR CO., INC.
Fig 173: Under Left Side Of Dash
G00478447Courtesy of AMERICAN HONDA MOTOR CO., INC.
Fig 174: Under Left Side Of Dash
G00478449Courtesy of AMERICAN HONDA MOTOR CO., INC.
Fig 175: Under Left Side Of Dash
G00478452Courtesy of AMERICAN HONDA MOTOR CO., INC.
Fig 176: Under Left Side Of Dash
G00478453Courtesy of AMERICAN HONDA MOTOR CO., INC.
Fig 177: Under Center Console
G00478455Courtesy of AMERICAN HONDA MOTOR CO., INC.
Fig 178: Under Center Console
G00478457Courtesy of AMERICAN HONDA MOTOR CO., INC.
Fig 179: Under Center Console
G00478458Courtesy of AMERICAN HONDA MOTOR CO., INC.
Fig 180: Under Center Console
G00478459Courtesy of AMERICAN HONDA MOTOR CO., INC.
Fig 181: Under Middle Of Dash
G00478461Courtesy of AMERICAN HONDA MOTOR CO., INC.
Fig 182: Under Middle Of Dash
G00478464Courtesy of AMERICAN HONDA MOTOR CO., INC.
Fig 183: Under Center Console
G00478468Courtesy of AMERICAN HONDA MOTOR CO., INC.
Fig 184: Under Center Console
G00478469Courtesy of AMERICAN HONDA MOTOR CO., INC.
Fig 185: Under Middle Of Dash
G00478471Courtesy of AMERICAN HONDA MOTOR CO., INC.
Fig 186: Middle Of Dash
G00478477Courtesy of AMERICAN HONDA MOTOR CO., INC.
Fig 187: Behind Glove Box
G00478479Courtesy of AMERICAN HONDA MOTOR CO., INC.
Fig 188: Behind Glove Box
G00478482Courtesy of AMERICAN HONDA MOTOR CO., INC.
Fig 189: Behind Glove Box
G00478483Courtesy of AMERICAN HONDA MOTOR CO., INC.
Fig 190: Under Right Side Of Dash
G00478486Courtesy of AMERICAN HONDA MOTOR CO., INC.
Fig 191: Behind Right Kick Panel
G00478488Courtesy of AMERICAN HONDA MOTOR CO., INC.
Fig 192: Behind Right Kick Panel
G00478489Courtesy of AMERICAN HONDA MOTOR CO., INC.
Fig 193: Behind Right Kick Panel
G00478491Courtesy of AMERICAN HONDA MOTOR CO., INC.
Fig 194: Driver's Door
G00478496Courtesy of AMERICAN HONDA MOTOR CO., INC.
Fig 195: Under Driver's Seat
G00478510Courtesy of AMERICAN HONDA MOTOR CO., INC.
Fig 196: Under Driver's Seat
G00478511Courtesy of AMERICAN HONDA MOTOR CO., INC.
Fig 197: Under Driver's Seat
G00478514Courtesy of AMERICAN HONDA MOTOR CO., INC.
Fig 198: Under Front Passenger's Seat
G00478518Courtesy of AMERICAN HONDA MOTOR CO., INC.
Fig 199: Under Left Second Row Seat
G00478523Courtesy of AMERICAN HONDA MOTOR CO., INC.
Fig 200: Under Left Second Row Seat
G00478524Courtesy of AMERICAN HONDA MOTOR CO., INC.
Fig 201: Under Right Second Row Seat
G00478525Courtesy of AMERICAN HONDA MOTOR CO., INC.
Fig 202: Front Center Of Roof
G00478527Courtesy of AMERICAN HONDA MOTOR CO., INC.
Fig 203: Front Center Of Roof
G00478528Courtesy of AMERICAN HONDA MOTOR CO., INC.
Fig 204: Rear Of Roof
G00478531Courtesy of AMERICAN HONDA MOTOR CO., INC.
Fig 205: Electrical Compass Unit
G00478532Courtesy of AMERICAN HONDA MOTOR CO., INC.
Fig 206: Left Side Of Cargo Area
G00478542Courtesy of AMERICAN HONDA MOTOR CO., INC.
Fig 207: Left Side Of Cargo Area
G00478547Courtesy of AMERICAN HONDA MOTOR CO., INC.
Fig 208: Left Side Of Tailgate
G00478551Courtesy of AMERICAN HONDA MOTOR CO., INC.
Fig 209: Center Of Tailgate
G00478552Courtesy of AMERICAN HONDA MOTOR CO., INC.
Fig 210: Right Side Of Cargo Area
G00478559Courtesy of AMERICAN HONDA MOTOR CO., INC.
Fig 211: Behind Left Side Of Rear Bumper (Right Similar)
G00478562Courtesy of AMERICAN HONDA MOTOR CO., INC.
Fig 212: Front Of Engine Compartment
G00478565Courtesy of AMERICAN HONDA MOTOR CO., INC.
Fig 213: Under Left Side Of Engine Compartment
G00478568Courtesy of AMERICAN HONDA MOTOR CO., INC.
Fig 214: Transmission Housing
G00478573Courtesy of AMERICAN HONDA MOTOR CO., INC.
Fig 215: Transmission Housing
G00478574Courtesy of AMERICAN HONDA MOTOR CO., INC.
Fig 216: Transmission Housing
G00478575Courtesy of AMERICAN HONDA MOTOR CO., INC.
Fig 217: Transmission Housing
G00478576Courtesy of AMERICAN HONDA MOTOR CO., INC.
Fig 218: Transmission Housing
G00478577Courtesy of AMERICAN HONDA MOTOR CO., INC.
Fig 219: Transmission Housing
G00478578Courtesy of AMERICAN HONDA MOTOR CO., INC.
Fig 220: Transmission Housing
G00478589Courtesy of AMERICAN HONDA MOTOR CO., INC.
Fig 221: Transmission Housing
G00478590Courtesy of AMERICAN HONDA MOTOR CO., INC.
Fig 222: Left Side Of Rear Differential
G00478595Courtesy of AMERICAN HONDA MOTOR CO., INC.
Fig 223: Right Side Of Rear Differential
G00478600Courtesy of AMERICAN HONDA MOTOR CO., INC.
Fig 224: Under Left Side Of Dash (Acura Accessory)
G00478605Courtesy of AMERICAN HONDA MOTOR CO., INC.
Fig 225: Under Middle Of Dash (Acura Accessory)
G00478606Courtesy of AMERICAN HONDA MOTOR CO., INC.
Fig 226: Left Side Of Cargo Area (Acura Accessory)
G00478607Courtesy of AMERICAN HONDA MOTOR CO., INC.
Fig 227: Left Side Of Cargo Area (Acura Accessory)
G00478609Courtesy of AMERICAN HONDA MOTOR CO., INC.
Fig 228: Left Side Of Rear Bumper (Right Similar)
G00478610Courtesy of AMERICAN HONDA MOTOR CO., INC.
Fig 229: Left Side Of Rear Bumper (Right Similar)
G00478611Courtesy of AMERICAN HONDA MOTOR CO., INC.