lemon-mirror:
Home >> Acura >> 2011 >> TL Base >> Repair and Diagnosis >> Body & Frame >> Door Locks >> HOMELINK Remote Control System >> Test

HOMELINK Remote Control System: Test

NOTE:
  • Explain to the client that garage door remote transmitters come in two types fixed code and rolling code Each type has its own programming method, and each method is covered in the owner's article. If the client has concerns about the HomeLink unit, have the client contact the HomeLink the assistance desk at 800-355-3515
  • If the HomeLink will not open the client's garage, do the following procedures
  1. Press any of the buttons on the HomeLink unit
    • If the red indicator comes on, go to step  4
    • If the red indicator does not come on, go to step 2
  2. Remove the roof console (see ROOF CONSOLE INPUT TEST/REPLACEMENT )
  3. Measure the voltage between terminals No 3 (+) and No 4 (-)of the roof console 20P connector (A) There should be battery voltage
    • If the voltage is not as specified, check for these problems
      • A blown No 16 (7 5 A) fuse in the under-hood fuse/relay box
      • A faulty under-dash fuse/relay box
      • An open or high resistance in the wire
      • Poor ground (G401)
    • If the voltage is specified, go to step 4
    Fig 1: Identifying Roof Console 20P Connector Terminals
    G05989122Courtesy of AMERICAN HONDA MOTOR CO., INC.
  4. Make sure the Genie remote transmitter (test remote) has fresh batteries
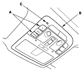
  5. Clear any previously learned codes by pressing and holding the two outside buttons (A) on the HomeLink unit (B) for until (about 20 seconds) the red indicator (C) on the unit starts blinking, release the buttons
    Fig 2: Identifying Outside Buttons, Homelink Unit And Indicator
    G05989123Courtesy of AMERICAN HONDA MOTOR CO., INC.
  6. Point the test remote transmitter (A) straight up exactly 4 0 in (1016 mm) away from the HomeLink unit (B)
    Fig 3: Identifying Remote Transmitter, Homelink Unit, Button And Indicator
    G05989124Courtesy of AMERICAN HONDA MOTOR CO., INC.
  7. Press and hold the test transmitter button and one of the HomeLink unit buttons (C) at the same time
  8. Wait for about 20 seconds while watching the red indicator (D) on the HomeLink unit